MX7578

量产

带有校准的、12位ADC

产品技术资料帮助

ADI公司所提供的资料均视为准确、可靠。但本公司不为用户在应用过程中侵犯任何专利权或第三方权利承担任何责任。技术指标的修改不再另行通知。本公司既没有含蓄的允许,也不允许借用ADI公司的专利或专利权的名义。本文出现的商标和注册商标所有权分别属于相应的公司。

Viewing:

概述

  • 对失调和增益进行连续透明校准
  • 真12位性能,无需调整
  • 零误差典型值 <100μV
  • 标准微处理器接口
  • 24引脚DIP/宽体SO和28引脚PLCC封装

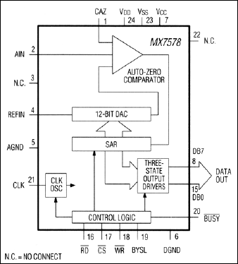
MX7578是一个经过校准的完整12位A/D转换器(ADC),内置一个转换时钟。内部校准电路在整个工作温度范围内保持真12位性能,无需外部调整。此外,每次转换都包括一个自动归零周期,可将零误差降至低于100μV(典型值)。

提供CHIP SELECT、READ和WRITE输入,无需额外逻辑即可轻松与微处理器接口。通过一个8位三态输出总线提供2字节、12位转换数据。可先读其中任一字节。两种转换器繁忙标志便于轮询转换器的状态。

使用+5V基准电压源时,MX7578模拟输入范围为0V至+5V。请参考Maxim的MAX178数据手册,了解带有采样/保持功能和内部基准电压源的直接升级产品。

 

应用

  • 音频和电信处理
  • 数字信号处理
  • 高精度过程控制
  • 高速数据采集

MX7578
带有校准的、12位ADC
MX7578:功能框图
添加至 myAnalog

将产品添加到myAnalog 的现有项目或新项目中(接收通知)。

创建新项目
提问

参考资料

了解更多
添加至 myAnalog

Add media to the Resources section of myAnalog, to an existing project or to a new project.

创建新项目

软件资源

找不到您所需的软件或驱动?

申请驱动/软件

硬件生态系统

部分模型 产品周期 描述
模数转换器(ADC) 4
MAX178 量产 具有采样/保持和基准电压源、经过校准的12位ADC
MAX185 量产 3µs、12位ADC
MAX190 量产 75ksps、5V、12位ADC,带有采样/保持和电压基准
MX674A 量产 工业标准、12位ADC,内置电压基准
Modal heading
添加至 myAnalog

将产品添加到myAnalog 的现有项目或新项目中(接收通知)。

创建新项目

最新评论

需要发起讨论吗? 没有关于 MX7578的相关讨论?是否需要发起讨论?

在EngineerZone®上发起讨论

近期浏览