MAX44004

过期

MAX44004数字环境光传感器

加速产品上市进程,提高设计灵活性

产品技术资料帮助

ADI公司所提供的资料均视为准确、可靠。但本公司不为用户在应用过程中侵犯任何专利权或第三方权利承担任何责任。技术指标的修改不再另行通知。本公司既没有含蓄的允许,也不允许借用ADI公司的专利或专利权的名义。本文出现的商标和注册商标所有权分别属于相应的公司。

Viewing:

概述

  • 低功耗
    • 5µA电源电流
    • 中断引脚控制高效通信
  • 高灵敏度
    • 0.03 Lux灵敏度
  • 设计简便
    • 1.7V至3.6V供电
    • 器件特性保持高度一致
  • 可靠检测光信号
    • 优异的50Hz/60Hz噪声抑制
    • 可调节可见光及红外传感器增益
  • 小尺寸、2mm x 2mm x 0.6mm OTDFN封装
  • -40°C至+105°C温度范围

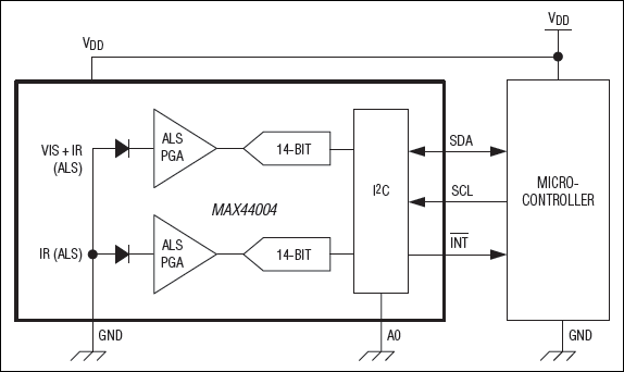
MAX44004是一款宽动态范围、低功耗环境光传感器(ALS),非常适合各种光信号检测应用:平板电脑、显示器、配件、医疗设备以及灯光管理系统等。

片上环境光传感器能够精确测量0.03 lux至65,000 lux的光信号,通过I²C总线传输数字信号。IC采用专有的检测、滤波技术以及模仿人眼视觉效果的电路。利用片上校准寄存器,在不同光照(例如,荧光灯、白炽灯等)条件下保持相同工作性能。中断引脚可以降低器件轮询的需求,减少微处理器通信次数,从而降低系统的整体功耗。采用Maxim的专有工艺保持器件之间的高度一致性,加速终端产品的开发进程。

IC工作在1.7V至3.6V的VDD电压,包括电源和I²C接口,仅消耗5µA工作电流。

应用

  • 数字照明管理
  • 显示器,TV,投影仪
  • 工业自动化
  • 医疗设备
  • 平板电脑和笔记本

MAX44004
MAX44004数字环境光传感器
MAX44004: Typical Application Circuit
添加至 myAnalog

将产品添加到myAnalog 的现有项目或新项目中(接收通知)。

创建新项目
提问

参考资料

了解更多
添加至 myAnalog

Add media to the Resources section of myAnalog, to an existing project or to a new project.

创建新项目

软件资源

找不到您所需的软件或驱动?

申请驱动/软件

最新评论

需要发起讨论吗? 没有关于 MAX44004的相关讨论?是否需要发起讨论?

在EngineerZone®上发起讨论

近期浏览