ADSP-2186M
不推荐用于新设计16位、75 MIPS、2.5v,2个串行端口,主机端口,40 KB RAM
- 产品模型
- 4
Viewing:
概述
- 指令周期时间:13 ns (75 MIPS)
- 2.5 v电源,3.3 v I/O
- 8K字片内程序RAM
- 8K字片内数据存储器RAM
- 0.4 mA/MIPS
- 16位内部DMA端口,支持高速访问片内存储器
- 100引脚LQFP和10mm x 10mm小型BGA封装
- 8位DMA字节存储器端口,支持程序和数据存储器透明传递
- 字节存储器接口用于存储数据表和程序覆盖
- 可编程存储器选通和独立的I/O存储器空间可实现“无缝”系统
- 兼容ADSP-2100系列代码和函数
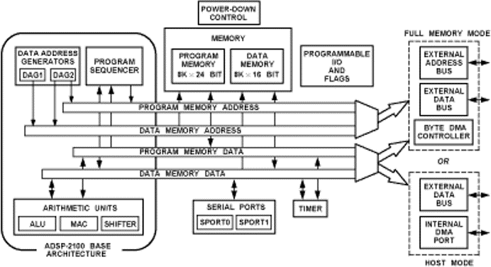
ADSP-2186M将ADSP-2100系列的基础架构(三个计算单元、数据地址生成器和一个程序序列器)与两个串行端口、一个16位内部DMA端口、一个字节DMA端口、一个可编程计时器、标志I/O和广泛的中断功能完美地结合起来。
优势
参考资料
数据手册 1
用户手册 1
应用笔记 63
处理器手册 5
软件手册 9
集成电路异常 1
旧模拟器手册 3
ADI 始终高度重视提供符合最高质量和可靠性水平的产品。我们通过将质量和可靠性检查纳入产品和工艺设计的各个范围以及制造过程来实现这一目标。出货产品的“零缺陷”始终是我们的目标。查看我们的质量和可靠性计划和认证以了解更多信息。
| 产品型号 | 引脚/封装图-中文版 | 文档 | CAD 符号,脚注和 3D模型 |
|---|---|---|---|
| ADSP-2186MBSTZ-266 | 100-Lead LQFP (14mm x 14mm) | ||
| ADSP-2186MBSTZ266R | LQFP 1.4 MM | ||
| ADSP-2186MKSTZ-300 | 100-Lead LQFP (14mm x 14mm) | ||
| ADSP-2186MKSTZ300R | 100-Lead LQFP (14mm x 14mm) |
| 产品型号 | 产品生命周期 | PCN |
|---|---|---|
|
10月 18, 2016 - 16_0034 Assembly Relocation of Select LQFP,LQFP_EP,MQFP,TQFP,TQFP_EP Products to Stats ChipPAC China Jiangyin |
||
| ADSP-2186MBSTZ-266 | 量产 | |
| ADSP-2186MKSTZ-300 | 量产 | |
| ADSP-2186MKSTZ300R | 量产 | |
|
6月 18, 2010 - 07_0093 Conversion to Laser Mark for all ADSPXXXX, ADSSTXXXX, and PC Audio Codecs Ink on Plastic Encapsulated Parts |
||
| ADSP-2186MBSTZ-266 | 量产 | |
| ADSP-2186MKSTZ-300 | 量产 | |
|
1月 5, 2009 - 07_0077 Certification of STATSChipPAC Shanghai, China and AMKOR Philippines as additional sources for Assembly & Test of QFP Packages |
||
| ADSP-2186MBSTZ-266 | 量产 | |
| ADSP-2186MKSTZ-300 | 量产 | |
这是最新版本的数据手册
软件资源
软件工具异常 1
示例代码 1
Evaluation Software 0
找不到您所需的软件或驱动?
工具及仿真模型
IBIS 模型 1
最新评论
需要发起讨论吗? 没有关于 ADSP-2186M的相关讨论?是否需要发起讨论?
在EngineerZone®上发起讨论