AD73360L
量产6输入通道模拟前端(AFE)
- 产品模型
- 2
Viewing:
概述
- 6个16位A/D转换器
- 可编程输入采样率
- 同步采样
- 信噪比:76 dB
- 最大采样率:64 kS/s
- 低群延迟(典型:25µs/ADC通道)
- 串扰:-95 dB
- 可编程输入增益
- 灵活的串行端口允许
以级联方式连接多个器件 - 单电源工作(2.7V至3.6V)
- 最大功耗:80 mW(2.7 V时)
- 片内基准电源
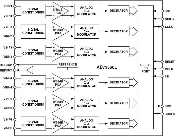
AD73360L是一款面向工业电能计量或多通道模拟输入等通用应用的6输入通道模拟前端处理器。配有6个16位A/D转换通道,在直流至4 kHz信号带宽下,各通道均可实现76 dB的信噪比。每个通道还集成一个可编程输入增益放大器(PGA),增益设置分为八级:从0 dB至38 dB。
参考资料
ADI 始终高度重视提供符合最高质量和可靠性水平的产品。我们通过将质量和可靠性检查纳入产品和工艺设计的各个范围以及制造过程来实现这一目标。出货产品的“零缺陷”始终是我们的目标。查看我们的质量和可靠性计划和认证以了解更多信息。
| 产品型号 | 引脚/封装图-中文版 | 文档 | CAD 符号,脚注和 3D模型 |
|---|---|---|---|
| AD73360LARZ | 28-Lead SOIC (Wide) | ||
| AD73360LARZ-REEL | 28-Lead SOIC (Wide) |
| 产品型号 | 产品生命周期 | PCN |
|---|---|---|
|
7月 21, 2014 - 13_0297 Qualification of ASE Chungli, as an Alternate Assembly Site for Select 16L, 20L, 24L and 28L SOICW Packages |
||
| AD73360LARZ | 量产 | |
| AD73360LARZ-REEL | 量产 | |
|
8月 4, 2010 - 10_0117 Halogen Free Material Change for SOIC_W Products at Carsem |
||
| AD73360LARZ | 量产 | |
| AD73360LARZ-REEL | 量产 | |
这是最新版本的数据手册