要約
マキシムは、ビデオディスプレイやディジタルイメージセンシングの高速、シリアルデータ相互接続用シリアライザ/デシリアライザ製品ファミリを開発しています。今日の設計者たちは、シリアライザ/デシリアライザ(SerDes)チップセットによって構築されたシリアルデータリンクの性能測定とマージンに強い関心を持っています。このアプリケーションノートでは、まず、シリアルリンクのアイテンプレートを測定し、次に、その測定を使用してリンク性能のマージンを導き出す実験的な方法を提示します。
はじめに
マキシムの高速LVDSシリアライザ/デシリアライザ(SerDes)製品は、自動車業界やテレコム業界で、ビデオディスプレイ、イメージセンシング、およびデータ伝送用に使用されています。高速データ相互接続にSerDesチップセットを使用する場合、ユーザは、SerDesリンクの性能と信頼性の高いデータ伝送マージンを知ることを期待します。通常、設計者は、シリアルリンクの性能とマージンを記述するためにアイダイアグラムとアイテンプレートを使用します1、2。しかし、実験データに基づいてアイテンプレートを決定する明確で確証的な方法はありません。
このアプリケーションノートでは、シリアルリンクの測定されたアイダイアグラムとビットエラーレートから、アイテンプレートを決定する体系的な方法を提示します。このプロセスを説明するために、MAX9217およびMAX9250 SerDesチップセットのアイテンプレートとリンクマージンが作成されています。テストのシステム温度は+25℃、+95℃、および+105℃で、さまざまな長さのケーブルが使用されています。
注:このテストシステムでMAX9250から得られた結果は、MAX9248デシリアライザにも適用されます。スペクトラム拡散パラレル出力を除き、MAX9248はMAX9250と同じ受信回路です。
試験セットアップ
試験セットアップは以下の機器から構成されています。
- Agilent 86130A Bit Analyzer (ビットアナライザ)
- Agilent 83752A Synthesizer Sweeper (シンセサイザスイーパ)
- Agilent 70820A Microwave Transition Analyzer (マイクロ波遷移アナライザ)
- Agilent 3325A Function Generator (機能ジェネレータ)
シリアライザMAX9217とデシリアライザMAX9250間の物理リンクはMD Elektronik GmbH3によって提供されるシールドされた高品質ケーブル(型番:PT1482)で作られます。このケーブルは評価ボードのトランスミッタ(MAX9217)およびレシーバ(MAX9250)側に実装された2つのRosenberger4リセプタクル(型番:D4S20D-40ML5-Y、waterblue)を接続します。Rosenbergerのウェブサイト詳細/リンクはこのアプリケーションノートの最後の参照文献にあります。
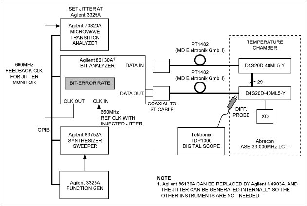
図1はこの試験のための一般的な機器セットアップを示しています。

図1. アイテンプレートを作成する試験セットアップ
ビットアナライザはデシリアライザMAX9250へのシリアル信号フィードを生成し、MAX9217によって出されるシリアル信号のビットエラーレートを測定します。ケーブルはビットアナライザからのシリアル出力とMAX9250へのシリアル入力を接続します。この試験では、ケーブルとコネクタはMD ElectronikおよびRosenbergerによって提供されています。全コンポーネントは車載環境の厳しい要件に適合するように仕様が定められています。
この試験には、PT1482の異なるケーブル長が使用されています(試験結果については表1~3を参照)。MAX9250からのパラレル出力はMAX9217へのパラレル入力に接続されています。MAX9217のシリアル出力はビットアナライザのシリアル入力に接続されています。この構成では、シリアルビットアナライザを使ってSerDesリンクのビットエラーレートを分析します。
シンセサイザスイーパは、ビットアナライザのシリアル出力信号のシリアルビットクロックを生成します。マイクロ波トランジションアナライザは、ファンクションジェネレータを制御し、シリアルビットクロックの位相に正弦波変調を生成します。それによって、シリアルビットクロックは、ビットアナライザから送信されるシリアルデータに、ジッタを与えます。正弦波変調の周波数は、MAX9250のレシーバPLLのループフィルタ帯域幅の約10倍である、5MHzに設定されています。この選択は、正弦波変調を、デシリアライザへの位相ジッタに変換しますが、レシーバPLLによってトラッキングできる低周波ドリフトではありません。
データ出力の差動電圧振幅もビットアナライザによって設定することができます。図2aおよび図2bは、ビットアナライザのシリアルデータ出力のジッタと電圧スイングの変化を示しています。

図2. 注入されたジッタおよび出力スイング振幅の変化。図2aは、注入ジッタと減衰スイングのビットアナライザ出力を示しています。図2bは、さらに注入されたジッタと通常スイングのビットアナライザ出力を示しています。
可変ジッタと差動スイングを生成したら、次は、リンクの性能のテストです。パラレルデータレートは33Mbpsに固定され、シリアルデータレートは660Mbpsに固定されています。デシリアライザ入力に挿入された総ジッタは、注入された正弦波ジッタとリンクの制限周波帯域幅によって生成された確定的ジッタの合計です。
アイテンプレートの作成
SerDesリンクの性能基準として、アイテンプレートは、デシリアライザの入力で測定されるアイダイアグラムに対して、制限または境界を提供します。アイダイアグラムがアイテンプレートより大きい場合、デシリアライザはシリアルデータを正確に再生します。
しかし、今日まで、このようなアイテンプレートを作成する最善の方法はありませんでした。主な困難は、アイテンプレートの形状がケーブル特性、信号スイング、ジッタ、および温度に依存することでした。このため、課題は、指定したケーブル仕様と温度の下で特定のアイテンプレートを生成することです。信号スイングとジッタ間の相関を何らかの形で切り離すことも同様に重要です。
我々は、アイテンプレートを作成するために、デシリアライザのアイダイアグラムの観察からスタートしました。信号「スイング」が観察対象のスレッショルドより大きい場合、ジッタが主にデシリアライザの性能を決定しました。我々は、660Mbpsシリアルデータレートで5mケーブルに一連のテストを実施し、指定した信号振幅スイングごとにデシリアライザが耐性可能な最大ジッタを決定しました。デシリアライザに2分間、エラービットがなかった場合、我々は、このデシリアライザが注入ジッタに対して耐性があると判断しました。統計的に、2分間ビットエラーが見つからなかったことは、リンクのビットエラーレートが10-10以下であると99.9%の確信を持って言うのと等価です。図3は、指定した信号スイングと+25℃~+95℃の耐性ジッタの間のプロットを示しています。ここで、耐性ジッタはUI (単位間隔)で示されます。この場合、1 UI = 1/660MHz = 1.515nsです。

図3. 2つの温度における指定した信号スイングの受け入れ可能なジッタ
図3のデータは、信号スイングが+25℃で100mVP-Pのスレッショルドより大きくなると、スイングの性能への影響は最小になることを示しています。同じ結果は、200mVP-Pのスレッショルドで+95℃のときに観察されます。そのため、アイテンプレートを測定するために、我々は、信号スイングを200mVP-Pに固定し、リンクがエラーになるまで注入ジッタの量を変えました。このように、アイダイアグラムがテンプレートより大きくなるとき、リンクの完全性を保証するアイテンプレートを実験的に作成します。
指定したリンクのアイテンプレートの測定
アイテンプレートの作成方法が定義されたら、我々は、さまざまなケーブル長とさまざまな温度で、指定したリンクのアイテンプレートを測定しています。図1の試験セットアップでは、我々は、デシリアライザ入力の信号スイングが200mVP-Pになるように、出力振幅を調整しました。この調整で、200mVP-Pのアイテンプレートの垂直方向の長さ(図3の「x」)を確認しました。次に、我々は、注入ジッタの量を変えて、アイテンプレートの水平方向の長さ(図3の「y」)を決定しました。水平方向の長さは、リンクが2分間エラーを持たなかった最大注入トジッタで測定されます。表1は、さまざまな実験条件のアイテンプレートの水平方向の長さを示しています。水平方向の長さの単位はUIです。
| Test Board No. | 0m Cable | 5m* Cable PT1482 |
10m* Cable PT1482 |
| +25°C | +25°C | +25°C | |
| 1 | 0.597 | 0.551 | 0.525 |
| 2 | 0.604 | 0.578 | 0.545 |
| 3 | 0.604 | 0.551 | 0.525 |
| +95°C | +95°C | +95°C | |
| 1 | 0.657 | 0.630 | 0.597 |
| 2 | 0.644 | 0.644 | 0.591 |
| 3 | 0.637 | 0.624 | 0.597 |
| +105°C | +105°C | +105°C | |
| 1 | 0.663 | 0.630 | 0.670 |
| 2 | 0.604 | 0.611 | 0.683 |
| 3 | 0.597 | 0.591 | 0.637 |
| *注:5mケーブルの場合、2.5mに1個のコネクタがあります。10mケーブルの場合、2.5m、5m、および8mに3個のコネクタがあります。 | |||
図4は、2つのテストケースから得られたアイダイアグラムを示しています。

図4. 200mVP-Pと最大ジッタ耐性のアイダイアグラム"><br <em="">図4. 200mVP-Pと最大ジッタ耐性のアイダイアグラム。
大部分のオシロスコープの差動プローブは、高いチャンバ温度に耐性がないことに注意してください。そのため、我々は、同じ信号スイングと注入ジッタで、室温でアイダイアグラムを測定する必要がありました。我々は、室温のアイダイアグラムが高温で測定されたアイダイアグラムと非常に似ていると予想しました。これは、デシリアライザの入力がハイインピーダンスであることと、入力端子が、温度の影響をほとんど受けない外付け精密抵抗によって終端され、100Ω差動負荷を形成しているために正しいことが分かります。
アイテンプレートからのリンクマージンの導出
アイテンプレートからリンクマージンを導き出すのは、容易な作業です。図5のセットアップでは、表1のテンプレートの作成に使用したものと同じケーブル長と温度で、デシリアライザ入力のアイダイアグラムを測定しています。

図5. リンクアイダイアグラムの測定用セットアップ。
我々は、高温でのプローブの損傷を防ぐために、MAX9250デシリアライザを温度チャンバの外に置きました。表2は、異なるケーブル長と温度におけるアイダイアグラムの2つの寸法を示しています。
| Test Board No. | 0m Cable | 5m Cable PT1482 |
10m Cable PT1482 |
|||
| Eye Open (Hor., UI) | Eye Open (Ver., mVP-P) | Eye Open (Hor., UI) | Eye Open (Ver., mVP-P) | Eye Open (Hor., UI) | Eye Open (Ver., mVP-P) | |
| +25°C | +25°C | +25°C | +25°C | +25°C | +25°C | |
| 1 | 0.894 | 480 | 0.815 | 374 | 0.670 | 226 |
| 2 | 0.881 | 464 | 0.815 | 372 | 0.716 | 236 |
| 3 | 0.894 | 504 | 0.809 | 368 | 0.696 | 228 |
| +95°C | +95°C | +95°C | +95°C | +95°C | +95°C | |
| 1 | 0.815 | 380 | 0.710 | 220 | ||
| 2 | 0.802 | 388 | 0.723 | 210 | ||
| 3 | 0.842 | 404 | 0.729 | 248 | ||
| +105°C | +105°C | +105°C | +105°C | +105°C | +105°C | |
| 1 | 0.795 | 376 | 0.696 | 204 | ||
| 2 | 0.782 | 380 | 0.716 | 206 | ||
| 3 | 0.822 | 400 | 0.716 | 230 | ||
これで、表2の測定アイダイアグラムを表1のアイテンプレートと比較し、各リンクのマージンを求めることができます。表3が示すように、マージンの垂直方向はdB、水平方向はUIで計算されます。
| Test Board No. | 0m Cable | 5m Cable PT1482 |
10m Cable PT1482 |
|||
| Eye Margin (Hor., UI) | Eye Margin (Ver., dB) | Eye Margin (Hor., UI) | Eye Margin (Ver., dB) | Eye Margin (Hor., UI) | Eye Margin (Ver., dB) | |
| +25°C | +25°C | +25°C | +25°C | +25°C | +25°C | |
| 1 | 0.297 | 7.6 | 0.264 | 5.4 | 0.145 | 1.1 |
| 2 | 0.277 | 7.3 | 0.238 | 5.4 | 0.172 | 1.4 |
| 3 | 0.290 | 8.0 | 0.257 | 5.3 | 0.172 | 1.1 |
| +95°C | +95°C | +95°C | +95°C | +95°C | +95°C | |
| 1 | 0.185 | 5.6 | 0.112 | 0.8 | ||
| 2 | 0.158 | 5.8 | 0.132 | 0.4 | ||
| 3 | 0.218 | 6.1 | 0.132 | 1.9 | ||
| +105°C | +105°C | +105°C | +105°C | +105°C | +105°C | |
| 1 | 0.165 | 5.5 | 0.026 | 0.2 | ||
| 2 | 0.172 | 5.6 | 0.033 | 0.3 | ||
| 3 | 0.231 | 6.0 | 0.079 | 1.2 | ||
アイテンプレートとアイダイアグラムをグラフで比較するために、2つの例では、アイテンプレートをダイアグラム内部に描画しています(図6参照)。

図6. アイダイアグラムの上のアイテンプレート
表3のデータから以下の観察を得ることができます。
- アイテンプレートは、複数因子(ケーブルタイプ、長さ、コネクタタイプ、温度、データレート、およびチップツーチップバリエーション)の関数です。
- 5mケーブルの場合、MAX9217/MAX9250 SerDesチップセットは、垂直および水平の両方向で660Mbpsデータレートで高信頼のシリアルリンクを提供する十分なマージンを備えています。
- 10mケーブルの場合、MAX9217/MAX9250 SerDesチップセットは、両方向に非常に限定されたマージンを備えています。
- テスト1 (表1参照)で得られたアイテンプレートは、アイテンプレートの水平方向のサイズの決定に対して比較的控えめです。たとえば、動作が常に室温の場合、信号スイングスレッショルドは100mVP-Pとして選択することができ、これによって、アイテンプレートは小さくなり、垂直方向のマージンは大きくなります。
結論
このアプリケーションノートでは、SerDesチップセットのアイテンプレートを生成する実験的な方法を示しています。この新しい方法では、信号スイングがリンク性能に対して影響しないスレッショルドを決定することによって、信号スイングをジッタ耐性から切り離しています。この技術は、スレッショルドをアイテンプレートの垂直方向の寸法として使用し、最大ジッタ耐性をテンプレートの水平方向の寸法を決定するために使用します。結果のアイテンプレートを使用し、測定対象のアイダイアグラムからのリンクマージンを決定することができます。
同様の記事が、2008年2月12日に「Test and Measurement World」誌のウェブサイトに掲載されています。