MAX14759
製造中レール以上/以下、低オン抵抗アナログスイッチ
電源を簡素化する±25Vレール以上/以下スイッチ
- 製品モデル
- 2
- 1Ku当たりの価格
- 最低価格:$2.94
製品情報
- 電源要件を簡素化
- 電源範囲:+3.0V~+5.5V
- 信号範囲:-25V~+25V
- 高性能
- 低オン抵抗:1Ω (max)または2Ω (max)
- 低いRON平坦性:2.4mΩ (typ)および5.1mΩ (typ)
- スイッチ電流:500mA (max) (MAX14759)
- サーマルシャットダウン保護
- 動作温度範囲:-40℃~+85℃
- 高帯域幅:100MHz (typ)の挿入損失
- 高ESD保護:2kV (max)
- 基板スペースを節減
- 小型8ピンおよび10ピンTDFNパッケージ
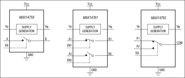
アナログスイッチのMAX14759/MAX14761/MAX14763は、その電源レール以上のバイポーラ信号を通過させることができます。これらのデバイスは、+3.0V~+5.5Vの単一電源で動作し、-25V~+25Vの範囲の信号に対応します。
MAX14759は、単極/単投(SPST)アナログスイッチで、MAX14761は、デュアルSPSTアナログスイッチです。MAX14763は、単極/双投(SPDT)アナログスイッチです。
MAX14759は、1Ω (max)のオン抵抗と±200nA (max)のオンリーク電流を備えています。MAX14761/MAX14763は、2Ω (max)のオン抵抗と±100nA (max)のオンリーク電流を備えています。この低オン抵抗と高帯域幅によって、デジタルおよびアナログ信号スイッチアプリケーションでの使用が可能です。
MAX14759/MAX14763は、8ピンTDFNパッケージ(3mm x 3mm)で提供されます。MAX14761は、10ピンTDFNパッケージ(3mm x 3mm)で提供されます。これらのデバイスは、-40℃~+85℃の拡張温度範囲での動作が保証されています。
アプリケーション
- ATEシステム
- オーディオ信号ルーティングおよびスイッチング
- CANバス終端切替
- インダストリアル用測定システム
- 計測システム
- 医療用システム
- 光リレー代替
- RS-485終端切替
ドキュメント
データシート 1
信頼性データ 1
技術記事 1
| 製品モデル | ピン/パッケージ図 | 資料 | CADシンボル、フットプリント、および3Dモデル |
|---|---|---|---|
| MAX14759ETA+ | Thin Dual Flatpack No Leads, Exposed Pad | ||
| MAX14759ETA+T | Thin Dual Flatpack No Leads, Exposed Pad |
これは最新改訂バージョンのデータシートです。
