LTC2280

製造中

デュアル10ビット、105Msps、低ノイズ3V ADC

利用上の注意

本データシートの英語以外の言語への翻訳はユーザの便宜のために提供されるものであり、リビジョンが古い場合があります。最新の内容については、必ず最新の英語版をご参照ください。

なお、日本語版のデータシートは基本的に「Rev.0」(リビジョン0)で作成されています。そのため、英語版が後に改訂され、複数製品のデータシートがひとつに統一された場合、同じ「Rev.0」の日本語版のデータシートが異なる製品のデータシートとして表示されることがあります。たとえば、「ADM3307E」の場合、日本語データシートをクリックすると「ADM3311E」が表示されます。これは、英語版のデータシートが複数の製品で共有できるように1本化され、「ADM3307E/ADM3310E/ADM3311E/ADM3312E/ADM3315E」(Rev.J)と改訂されたからで、決して誤ってリンクが張られているわけではありません。和文化されたデータシートを少しでも有効に活用していただくためにこのような方法をとっておりますので、ご了解ください。

アナログ・デバイセズ社は、提供する情報が正確で信頼できるものであることを期していますが、その情報の利用に関して、あるいはその利用によって生じる第三者の特許やその他の権利の侵害に関して一切の責任を負いません。また、アナログ・デバイセズ社の特許または特許の権利の使用を明示的または暗示的に許諾するものでもありません。仕様は予告なしに変更する場合があります。本紙記載の商標および登録商標は、各社の所有に属します。

Viewing:

製品情報

  • サンプル・レート:105Msps
  • 単一3V電源 (2.85V~3.4V)
  • 低消費電力:540mW
  • SNR 61.6dB、 SFDR 85dB
  • チャネル間分離:(100MHzで)110dB
  • 柔軟な入力:1VP-P~2VP-P
  • 575MHzのフルパワー帯域幅S/H
  • クロック・デューティ・サイクル・スタビライザ
  • シャットダウン・モードとナップ・モード
  • ピン互換ファミリ
    • 105Msps: LTC2282 (12ビット), LTC2280 (10ビット)
    • 80Msps: LTC2294 (12ビット), LTC2289 (10ビット)
    • 65Msps: LTC2293 (12ビット), LTC2288 (10ビット)
    • 40Msps: LTC2292 (12ビット), LTC2287 (10ビット)
    • 25Msps: LTC2291 (12ビット), LTC2286 (10ビット)
    • 10Msps: LTC2290 (12ビット)
  • 64ピン9mm×9mm QFNパッケージ

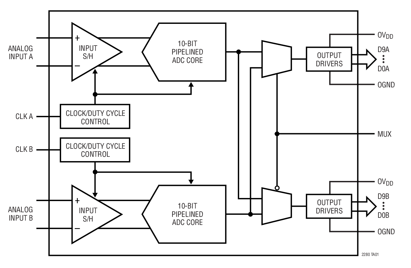
LTC2280は、高周波の広いダイナミック・レンジの信号をデジタル化する10ビット、105Msps、低ノイズ、デュアル3V A/Dコンバータです。SNRが61.6dB、ナイキスト周波数での信号に対するSFDRが85dBという優れたAC特性を備えているため、要求の厳しいイメージングや通信アプリケーションに最適です。 

DC仕様では、±0.1LSB(標準)のINLと±0.1LSB(標準)のDNL、全温度範囲で±0.6LSB(標準)のINLと±0.6LSB(標準)のDNLが規定されています。遷移ノイズは0.08LSB RMSと低く抑えられています。

単一3V電源により、低消費電力動作が可能です。個別の出力電源により、0.5V~3.6Vロジックをドライブする出力が可能です。

シングルエンドCLK入力によってコンバータ動作を制御します。また、オプションのクロック・デューティ・サイクル・スタビライザにより、広範なクロック・デューティ・サイクルに対してフルスピードで高性能を達成できます。


アプリケーション

  • 無線および有線の広帯域通信
  • イメージング・システム
  • スペクトル分析
  • 携帯用計測器

LTC2280
デュアル10ビット、105Msps、低ノイズ3V ADC
SNR vs Input Frequency, –1dB, 2V Range Product Package 1
myAnalogに追加

myAnalogの製品セクション(通知受け取り)、既存/新規プロジェクトに製品を追加する。

新規プロジェクトを作成
質問する
サポート

アナログ・デバイセズのサポート・ページはアナログ・デバイセズへのあらゆるご質問にお答えするワンストップ・ポータルです。


ドキュメント

データシート

これは最新改訂バージョンのデータシートです。

さらに詳しく
myAnalogに追加

myAnalogのリソース・セクション、既存/新規プロジェクトにメディアを追加する。

新規プロジェクトを作成

ソフトウェア・リソース

評価用ソフトウェア 1

LinearLabTools

リニアテクノロジーのデータ・コンバータ評価用ボードに直接アクセスできるMATLABとPythonのプログラムを集めたツールです。


ハードウェア・エコシステム

製品モデル 製品ライフサイクル 詳細
ADC/DACコンボ・コンバータ 1
LTM9002 新規設計には非推奨 14ビット、デュアルチャネルIF/ベースバンド・レシーバ・サブシステム
フェーズ・ロック・ループ(PLL)シンセサイザ 1
LTC6946 最終販売 ノイズとスプリアスを極めて低く抑えたVCO内蔵の0.37GHz~5.7GHz整数分周方式シンセサイザ
差動アンプ 1
LTC6420-20 最終販売 整合したデュアル1.8GHz差動アンプ/ADCドライバ
Modal heading
myAnalogに追加

myAnalogの製品セクション(通知受け取り)、既存/新規プロジェクトに製品を追加する。

新規プロジェクトを作成

ツールおよびシミュレーション


評価用キット

eval board
DC851A-X

LTC2280IUP | DeMUX Dual ADC, +3.0V, 105Msps 10-Bit 70MHz < AIN < 140MHz, (Requires DC890)

製品詳細

DC851A-X: Demo Board for the LTC2280 Dual 10-Bit, 105Msps Low Noise 3V ADC.

eval board
DC851A-W

LTC2280IUP | DeMUX Dual ADC, +3.0V, 105Msps 10-Bit 1MHz < AIN < 70MHz, (Requires DC890)

製品詳細

DC851A-W: Demo Board for the LTC2280 Dual 10-Bit, 105Msps Low Noise 3V ADC.

DC851A-X
LTC2280IUP | DeMUX Dual ADC, +3.0V, 105Msps 10-Bit 70MHz < AIN < 140MHz, (Requires DC890)
DC851A-A - Schematic
DC851A-W
LTC2280IUP | DeMUX Dual ADC, +3.0V, 105Msps 10-Bit 1MHz < AIN < 70MHz, (Requires DC890)
DC851A-A - Schematic

最新のディスカッション

LTC2280に関するディスカッションはまだありません。意見を投稿しますか?

EngineerZone®でディスカッションを始める

最近表示した製品