ADF7022
ADF7022
新規設計には非推奨io-homecontrol® Compliant RF Transceiver
- 製品モデル
- 2
- 1Ku当たりの価格
- 価格は未定
Viewing:
製品情報
- Very low power, high performance, low IF transceiver
- Fully integrated io-homecontrol®-compliant protocol
- Autonomous packet handling without intervention of host microprocessor thus significantly increasing battery life
- 1-way and 2-way communication supported
- Automatic wake-up timer
- 32-bit hardware timer, 16-bit firmware timer (48 bits total)
- Patented fast settling automatic frequency control (AFC)
- Digital RSSI
- Uses either
External 32 kHz crystal
Internal 32 kHz RC oscillator - Fully integrated image rejection calibration (patent pending)
- Operating frequencies
Channel 1: 868.25 MHz
Channel 2: 868.95 MHz
Channel 3: 869.85 MHz - For more detailed Features, please see Data Sheet
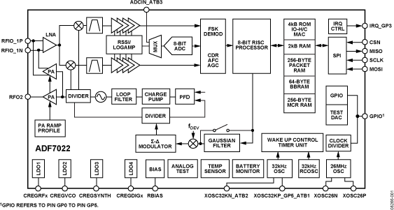
The ADF7022 is a very low power, high performance, highly integrated FSK/GFSK transceiver designed for operation at the three io-homecontrol® channels at 868.25 MHz, 868.95 MHz and 869.85 MHz in the license-free ISM band. The ADF7022 is fully compliant to ETSI-300-220, and is based on the popular ADF7020 transceiver with enhanced digital baseband features specifically designed for the io-homecontrol® standard.
APPLICATIONS
- Home automation
- Process and building control
ドキュメント
データシート 1
技術記事 6
製品ハイライト 1
サードパーティ・パートナー・プログラム 1
秘密保持契約(NDA)をリクエスト
Available to members of IO Homecontrol only. For more information please contact a local sales office at Analog Devices, Inc.
サードパーティ・パートナー・プログラム 1
製品選択ガイド 1
製品ハイライト 1
| 製品モデル | ピン/パッケージ図 | 資料 | CADシンボル、フットプリント、および3Dモデル |
|---|---|---|---|
| ADF7022BCPZ | 32-Lead LFCSP (5mm x 5mm x 0.75mm w/ EP) | ||
| ADF7022BCPZ-REEL | 32-Lead LFCSP (5mm x 5mm x 0.75mm w/ EP) |
| 製品モデル | 製品ライフサイクル | PCN |
|---|---|---|
|
7 5, 2022 - 21_0271 Qualification of an Alternate Adhesive Material and Molding Compound for Select LFCSP Packages |
||
| ADF7022BCPZ | ||
| ADF7022BCPZ-REEL | 製造中 | |
|
10 18, 2016 - 16_0036 Assembly Relocation to Stats ChipPAC Jiangyin and Test Transfer to Stats ChipPAC Singapore of Select LFCSP Products |
||
| ADF7022BCPZ | ||
| ADF7022BCPZ-REEL | 製造中 | |
|
5 11, 2014 - 13_0231 Assembly Transfer of Select 4x4 and 5x5mm LFCSP Products to STATS ChipPAC China. |
||
| ADF7022BCPZ | ||
| ADF7022BCPZ-REEL | 製造中 | |
|
6 14, 2011 - 11_0109 Addition of STATSChipPAC, Malaysia as an Alternate Test Site for Select LFCSP products |
||
| ADF7022BCPZ | ||
| ADF7022BCPZ-REEL | 製造中 | |
これは最新改訂バージョンのデータシートです。
ソフトウェア・リソース
評価用ソフトウェア 2
ADIismLINK Development Platform
ADF70xx Evaluation Software
必要なソフトウェア/ドライバが見つかりませんか?
ツールおよびシミュレーション
ADIsimSRD デザインスタジオ
アナログ・デバイセズのADIsimSRD Design Studioはきわめて強力なツールであり、ADF7xxxファミリーである トランシーバとトランスミッタ製品を使用して、標準的なワイヤレス・システムの多くのパラメータをリアルタイムにシミュレートして最適化します。
ツールを開く評価用キット
最新のディスカッション
ADF7022に関するディスカッションはまだありません。意見を投稿しますか?
EngineerZone®でディスカッションを始める