MAX5532
PRODUCTIONDual, Ultra-Low-Power, 12-Bit, Voltage-Output DACs
- Part Models
- 2
- 1ku List Price
- Starting From $3.81
Overview
- Ultra-Low 5µA Supply Current
- Shutdown Mode Reduces Supply Current to 0.18µA (max)
- Single +1.8V to +5.5V Supply
- Small 4mm x 4mm x 0.8mm Thin QFN Package
- Internal Reference Sources 8mA of Current (MAX5533/MAX5535)
- Flexible Force-Sense-Configured Rail-to-Rail Output Buffers
- Fast 16MHz, 3-Wire, SPI-/QSPI-/MICROWIRE-Compatible Serial Interface
- TTL- and CMOS-Compatible Digital Inputs with Hysteresis
- Glitch-Free Outputs During Power-Up
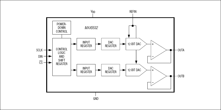
The MAX5532–MAX5535 are dual, 12-bit, ultra-low-power, voltage-output, digital-to-analog converters (DACs) offering rail-to-rail buffered voltage outputs. The DACs operate from a 1.8V to 5.5V supply and consume less than 5µA, making the devices suitable for low-power and low-voltage applications. A shutdown mode reduces overall current, including the reference input current, to just 0.18µA. The MAX5532–MAX5535 use a 3-wire serial interface that is compatible with SPI™, QSPI™, and MICROWIRE™.
Upon power-up, the MAX5532–MAX5535 outputs are driven to zero scale, providing additional safety for applications that drive valves or for other transducers that need to be off during power-up. The zero-scale outputs enable glitch-free power-up.
The MAX5532 accepts an external reference input and provides unity-gain outputs. The MAX5533 contains a precision internal reference and provides a buffered external reference output with unity-gain DAC outputs. The MAX5534 accepts an external reference input and provides force-sense outputs. The MAX5535 contains a precision internal reference and provides a buffered external reference output with force-sense DAC outputs.
The MAX5534/MAX5535 are available in a 4mm x 4mm x 0.8mm, 12-pin, thin QFN package. The MAX5532/MAX5533 are available in an 8-pin µMAX® package. All devices are guaranteed over the extended -40°C to +85°C temperature range.
For 10-bit compatible devices, refer to the MAX5522–MAX5525 data sheet. For 8-bit compatible devices, refer to the MAX5512–MAX5515 data sheet.
Applications
- Automatic Trimming and Calibration in Factory or Field
- Chemical Sensor Cell Bias for Gas Monitors
- Industrial Process Control and Remote Industrial Devices
- Instrumentation
- Portable Battery-Powered Devices
- Programmable LCD Bias
- Programmable Voltage and Current Sources
- Remote Data Conversion and Monitoring
Documentation
Data Sheet 1
Technical Articles 3
ADI has always placed the highest emphasis on delivering products that meet the maximum levels of quality and reliability. We achieve this by incorporating quality and reliability checks in every scope of product and process design, and in the manufacturing process as well. "Zero defects" for shipped products is always our goal. View our quality and reliability program and certifications for more information.
| Part Model | Pin/Package Drawing | Documentation | CAD Symbols, Footprints, and 3D Models | 
|---|---|---|---|
| MAX5532EUA+ | Micro-MAX, Thin Shrink Small-Outline | ||
| MAX5532EUA+T | Micro-MAX, Thin Shrink Small-Outline | 
| Part Models | Product Lifecycle | PCN | 
|---|---|---|
| Sep 19, 2018 - 1753N ASSEMBLY | ||
| MAX5532EUA+ | PRODUCTION | |
| MAX5532EUA+T | PRODUCTION | |
This is the most up-to-date revision of the Data Sheet.
Software Resources
Can't find the software or driver you need?
Request a Driver/SoftwareHardware Ecosystem
Evaluation Kits
Latest Discussions
No discussions on MAX5532 yet. Have something to say?
Start a Discussion on EngineerZone®