MAX5333

12-Bit DACs with 32-Channel Sample-and-Hold Outputs

Viewing:

Overview

  • Integrated 12-Bit DAC and 32-Channel SHA with SRAM and Sequencer
  • 32 Voltage Outputs
  • 0.03% FSR (typ) Output Linearity
  • 3.2mV Output Resolution
  • Flexible Output Voltage Range
  • Remote Ground Sensing
  • Fast Sequential Loading: 1.3µs per Register
  • Burst- and Immediate-Mode Addressing
  • No External Components Required for Setting Gain and Offset
  • Integrated Output Clamp Diodes
  • Three Output-Impedance Options
    MAX5331 (50Ω), MAX5332 (500Ω), and
    MAX5333 (1kΩ)
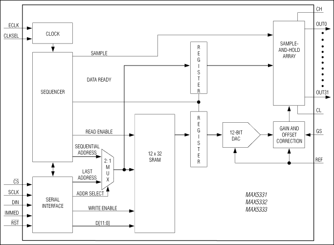
  • The MAX5331/MAX5332/MAX5333 are 12-bit digital-to-analog converters (DACs) with 32 sample-and-hold (SHA) outputs for applications where a high number of programmable voltages are required. These devices include a clock oscillator and a sequencer that updates the DAC with codes from an internal SRAM. No external components are required to set offset and gain.

    The MAX5331/MAX5332/MAX5333 feature a -4.5V to +9.2V output voltage range. Other features include a 3.2mV/step resolution, with output linearity error, typically 0.03% of full-scale range (FSR). The 100kHz refresh rate updates each SHA every 320µs, resulting in negligible output droop. Remote ground sensing allows the outputs to be referenced to the local ground of a separate device.

    These devices are controlled through a 20MHz SPI™/QSPI™/MICROWIRE™-compatible 3-wire serial interface. Immediate update mode allows any channel's output to be updated within 20µs. Burst Mode® allows multiple values to be loaded into memory in a single, high-speed data burst. All channels are updated within 330µs of data being loaded.

    Each device features an output clamp and output resistors for filtering. The MAX5331 features a 50Ω output impedance and is capable of driving up to 250pF of output capacitance. The MAX5332 features a 500Ω output impedance and is capable of driving up to 10nF of output capacitance. The MAX5333 features a 1kΩ output impedance and is capable of driving up to 10nF of output capacitance.

    The MAX5331/MAX5332/MAX5333 are available in 12mm x 12mm, 64-pin TQFP and 10mm x 10mm, 68-pin thin QFN packages.

    Applications

    • Automated Test Equipment (ATE)
    • Industrial Process Controls
    • Instrumentation
    • MEMS Mirror Servo Control

    MAX5333
    12-Bit DACs with 32-Channel Sample-and-Hold Outputs
    MAX5331, MAX5332, MAX5333: Functional Diagram
    Add to myAnalog

    Add product to the Products section of myAnalog (to receive notifications), to an existing project or to a new project.

    Create New Project
    Ask a Question

    Documentation

    Learn More
    Add to myAnalog

    Add media to the Resources section of myAnalog, to an existing project or to a new project.

    Create New Project

    Software Resources

    Can't find the software or driver you need?

    Request a Driver/Software

    Latest Discussions

    No discussions on MAX5333 yet. Have something to say?

    Start a Discussion on EngineerZone®

    Recently Viewed