HMC-C070

Obsolete

MicroSynth® Integrated Synthesizer Module, 5.5 - 10.5 GHz

Viewing:

Overview

  • Extremely Compact, Broadband Synthesizer
  • 24-Bit Step Size, 1.2 Hz Resolution
  • Auto & Triggered Sweeper Functions
  • Integrated Low Noise Voltage Regulators
  • Hermetic Module
  • Operating Temperature: -40°C to +85°C
  • Class 2 ESD Rating (2 kV)

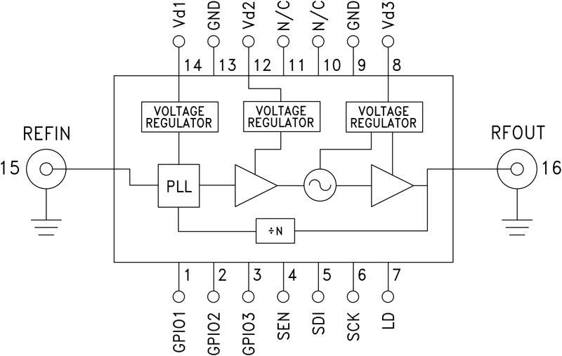
The HMC-C070 MicroSynth® is a fully integrated broadband synthesizer module that combines high performance SiGe, GaAs pHEMT, and InGaP HBT technologies into one compact hermetic package. The output frequency range is 5.5 to 10.5 GHz with an average output power of +21 dBm, which is enough to drive two mixers. In fractional-N mode, the HMC-C070 can realize step sizes as low as 1.2 Hz. The HMC-C070 also features fully integrated low noise regulators and an output buffer amplifier which results in superior pushing and pulling performance. This module has been designed to withstand harsh environments and can be upscreened to higher military standards upon request.

Register File

The HMC-C070 MicroSynth® requires initialization at turn-on in order to operate properly. The file HMC-C070_register.txt contains a hexadecimal list of registers and suggested initialization values that will cause the unit to operate at 8 GHz.

For theory of operation and register map refer to the MicroSynth® Operating Guide.

Applications

  • Military Radar, EW & ECM
  • Test & Measurement Equipment
  • Lab Instrumentation
  • Industrial/Medical Equipment
 

HMC-C070
MicroSynth® Integrated Synthesizer Module, 5.5 - 10.5 GHz
hmc-c070_fbl
Add to myAnalog

Add product to the Products section of myAnalog (to receive notifications), to an existing project or to a new project.

Create New Project
Ask a Question

Documentation

Data Sheet

This is the most up-to-date revision of the Data Sheet.

Learn More
Add to myAnalog

Add media to the Resources section of myAnalog, to an existing project or to a new project.

Create New Project

Software Resources

Can't find the software or driver you need?

Request a Driver/Software

Latest Discussions

No discussions on HMC-C070 yet. Have something to say?

Start a Discussion on EngineerZone®

Recently Viewed