ADXL327

PRODUCTION

Small, Low Power, 3-Axis ±2 g Accelerometer

Viewing:

Overview

  • 3-axis sensing
  • Small, low profile package
    4 mm × 4 mm × 1.45 mm LFCSP
  • Low power: 350 μA typical
  • Single-supply operation: 1.8 V to 3.6 V
  • 10,000 g shock survival
  • Excellent temperature stability
  • Bandwidth adjustment with a single capacitor per axis
  • RoHS/WEEE lead-free compliant

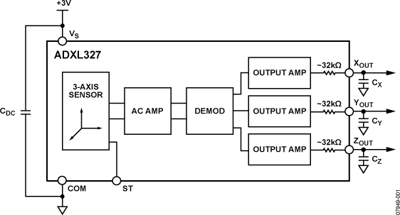
The ADXL327 is a small, low power, complete 3-axis accelerometer with signal conditioned voltage outputs. The product measures acceleration with a minimum full-scale range of ±2 g. It can measure the static acceleration of gravity in tilt-sensing applications, as well as dynamic acceleration, resulting from motion, shock, or vibration.

The user selects the bandwidth of the accelerometer using the CX, CY, and CZ capacitors at the XOUT, YOUT, and ZOUT pins. Bandwidths can be selected to suit the application with a range of 0.5 Hz to 1600 Hz for X and Y axes and a range of 0.5 Hz to 550 Hz for the Z axis.

The ADXL327 is available in a small, low profile, 4 mm × 4 mm × 1.45 mm, 16-lead, plastic lead frame chip scale package (LFCSP_LQ).

ADXL327
Small, Low Power, 3-Axis ±2 g Accelerometer
ADXL327-fbl ADXL327-pc
Add to myAnalog

Add product to the Products section of myAnalog (to receive notifications), to an existing project or to a new project.

Create New Project
Ask a Question

Documentation

Learn More
Add to myAnalog

Add media to the Resources section of myAnalog, to an existing project or to a new project.

Create New Project

Software Resources

Can't find the software or driver you need?

Request a Driver/Software

Evaluation Kits

eval board
EVAL-ADXL327

ADXL327 Breakout Board

Product Details

The EVAL-ADXL327Z is a simple breakout board that allows quick evaluation of the performance of the ADXL327 accelerometer. The ADXL327 is a 3-axis analog-output accelerometer with ± 2g measurement range. The small size (1" x 1") of the breakout board makes it easy to mount the accelerometer to an existing system without the need for additional hardware and with minimal effect on performance of the system and of the accelerometer. This page contains all the information related to the EVAL-ADXL327Z including documentation, pricing, and ordering information.

EVAL-ADXL327
ADXL327 Breakout Board
ADXL327 Evaluation Board

Latest Discussions

Recently Viewed