AD7843
PRODUCTIONTouch Screen Digitizer
- Part Models
- 6
- 1ku List Price
- Starting From $1.69
Overview
- 4-wire touch screen interface
- Specified throughput rate of 125 kSPS
- Low power consumption: 1.37 mW max at 125 kSPS with VCC = 3.6 V
- Single supply, VCC of 2.2 V to 5.25 V
- Ratiometric conversion
- High speed serial interface
- Programmable 8-bit or 12-bit resolution
- 2 auxiliary analog inputs
- Shutdown mode: 1 µA max
- 16-lead QSOP and TSSOP packages
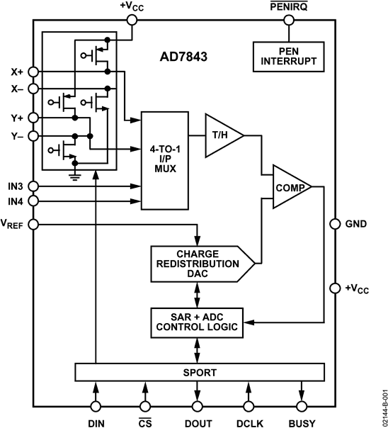
The AD7843 is a 12-bit successive-approximation ADC with a synchronous serial interface and low on resistance switches for driving touch screens. The part operates from a single 2.2 V to 5.25 V power supply and features throughput rates greater than 125 kSPS. The external reference applied to the AD7843 can be varied from 1 V to +VCC, while the analog input range is from 0 V to VREF. The device includes a shutdown mode that reduces the current consumption to less than 1 µA. This part is available in a 16-lead 0.15" Quarter Size Outline (QSOP) package and a 16-lead Thin Shrink Small Outline (TSSOP) package.
Also see the AD7843 sister part, which is the AD7873. This part is similar to the AD7843 but has added functionality such as an on-chip temperature sensor (-40°C to + 85°C), on-chip 2.5 V reference and direct battery and touch-pressure measurement.
Documentation
Data Sheet 1
User Guide 1
Application Note 1
Technical Articles 1
Evaluation Design File 1
Device Drivers 1
Analog Dialogue 1
ADI has always placed the highest emphasis on delivering products that meet the maximum levels of quality and reliability. We achieve this by incorporating quality and reliability checks in every scope of product and process design, and in the manufacturing process as well. "Zero defects" for shipped products is always our goal. View our quality and reliability program and certifications for more information.
| Part Model | Pin/Package Drawing | Documentation | CAD Symbols, Footprints, and 3D Models |
|---|---|---|---|
| AD51/064Z-0REEL | 16-Lead TSSOP | ||
| AD7843ARQZ | 16-Lead QSOP | ||
| AD7843ARQZ-REEL | 16-Lead QSOP | ||
| AD7843ARQZ-REEL7 | 16-Lead QSOP | ||
| AD7843ARUZ | 16-Lead TSSOP | ||
| AD7843ARUZ-REEL7 | 16-Lead TSSOP |
| Part Models | Product Lifecycle | PCN |
|---|---|---|
|
Apr 5, 2021 - 21_0035 Amkor Philippines as an Alternate Site for TSSOP_4.4 |
||
| AD51/064Z-0REEL | ||
|
Jan 16, 2012 - 11_0244 Halogen Free Material Change for Select TSSOP Products Assembled at Amkor |
||
| AD51/064Z-0REEL | ||
| AD7843ARUZ | PRODUCTION | |
| AD7843ARUZ-REEL7 | PRODUCTION | |
|
Aug 26, 2010 - 10_0001 Halogen Free Material Change for QSOP Products |
||
| AD7843ARQZ | PRODUCTION | |
| AD7843ARQZ-REEL | PRODUCTION | |
| AD7843ARQZ-REEL7 | PRODUCTION | |
|
Feb 8, 2010 - 04_0080 Qualification of the 8" C6 and Q Wafer Fab Processes at Analog Devices, Limerick, Ireland. |
||
| AD7843ARQZ | PRODUCTION | |
| AD7843ARQZ-REEL | PRODUCTION | |
| AD7843ARQZ-REEL7 | PRODUCTION | |
| AD7843ARUZ | PRODUCTION | |
| AD7843ARUZ-REEL7 | PRODUCTION | |
This is the most up-to-date revision of the Data Sheet.
Software Resources
Device Drivers 1
Evaluation Software 0
Can't find the software or driver you need?