DS2290

T1隔离条

产品技术资料帮助

ADI公司所提供的资料均视为准确、可靠。但本公司不为用户在应用过程中侵犯任何专利权或第三方权利承担任何责任。技术指标的修改不再另行通知。本公司既没有含蓄的允许,也不允许借用ADI公司的专利或专利权的名义。本文出现的商标和注册商标所有权分别属于相应的公司。

Viewing:

产品详情

  • Interface protects equipment connected to T1 lines
  • Provides 800 volts of surge protection and 1500 volts of isolation
  • Registered with FCC Part 68
  • Meets TR 62411 and T1.403-1989 for transmit-pulse characteristics
  • Provides line build-outs of 0, -7.5, and -15 dB
  • Companion to the DS2291 T1 Long Loop Stik
  • Connects to a standard 30-pin single in-line connector
  • Operating ranges:
    • Single +5V supply
    • 0°C to 70°C
DS2290
T1隔离条
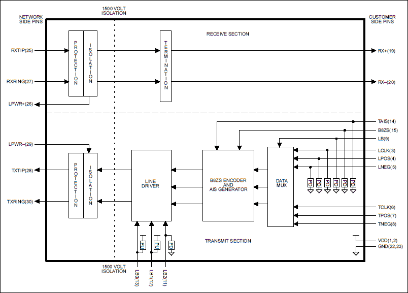
DS2290:原理框图
添加至 myAnalog

将产品添加到myAnalog 的现有项目或新项目中(接收通知)。

创建新项目
提问

参考资料

了解更多
添加至 myAnalog

Add media to the Resources section of myAnalog, to an existing project or to a new project.

创建新项目

最新评论

需要发起讨论吗? 没有关于 DS2290的相关讨论?是否需要发起讨论?

在EngineerZone®上发起讨论

近期浏览