AD9973

过期

双通道、14位CCD信号处理器,内置Precision Timing™内核

产品技术资料帮助

ADI公司所提供的资料均视为准确、可靠。但本公司不为用户在应用过程中侵犯任何专利权或第三方权利承担任何责任。技术指标的修改不再另行通知。本公司既没有含蓄的允许,也不允许借用ADI公司的专利或专利权的名义。本文出现的商标和注册商标所有权分别属于相应的公司。

Viewing:

概述

  • 1.8 V analog and digital core supply voltage
  • Serial data link with reduced range LVDS outputs
  • Correlated double sampler (CDS) with −3 dB, 0 dB, +3 dB, +6 dB gain
  • 6 dB to 42 dB, 10-bit variable gain amplifier (VGA)
  • 14-bit, 65 MHz analog-to-digital converter
  • Black level clamp with variable level control
  • Complete on-chip timing generator
  • Precision Timing core with 240 ps resolution @ 65 MHz
  • On-chip 3 V horizontal and RG drivers
  • 6 mm × 6 mm, 84-ball CSP_BGA package

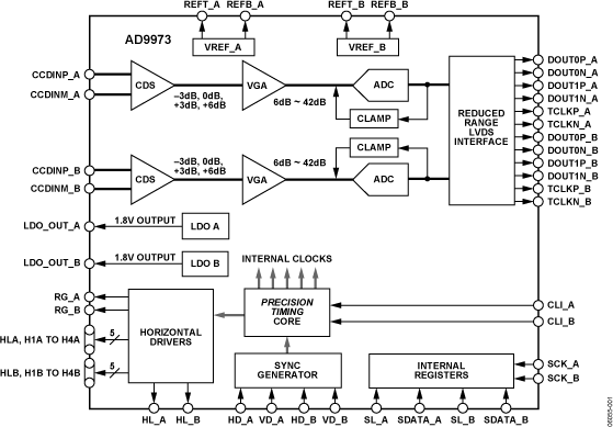
AD9973是一款适合高速数码摄像机应用的高度集成双通道CCD信号处理器。      

每个通道的额定像素速率高达65 MHz,由带模数转换功能的完整模拟前端和可编程时序驱动器组成。在65 MHz下工作时,Precision Timing内核允许以240 ps的分辨率调整高速时钟。AD9973还内置一个范围缩小的LVDS接口,用于双通道数据输出。每个模拟前端(AFE)均包括黑色电平箝位、CDS、VGA和一个65 MSPS、14位模数转换器。时序驱动器为RG、HL和H1至H4提供高速CCD时钟驱动器。采用三线式串行接口对操作进行编程。

AD9973采用节省空间的6 mm × 6 mm、84引脚CSP_BGA封装,额定工作温度范围为-25℃至+85°C。

应用

  • 专业高清电视摄像机
  • 专业、高端数码相机
  • 广播相机
  • 工业高速相机
  • 数据手册,Rev. SpA,3/07

    AD9973
    双通道、14位CCD信号处理器,内置Precision Timing™内核
    AD9973-fbl 573742620AD9973-pc AD9973 Typical Application Diagram3 AD9973 Typical Application Diagram4 AD9973 Typical Application Diagram1 AD9973 Typical Application Diagram2
    添加至 myAnalog

    将产品添加到myAnalog 的现有项目或新项目中(接收通知)。

    创建新项目
    提问

    参考资料

    了解更多
    添加至 myAnalog

    Add media to the Resources section of myAnalog, to an existing project or to a new project.

    创建新项目

    软件资源

    找不到您所需的软件或驱动?

    申请驱动/软件

    最新评论

    需要发起讨论吗? 没有关于 AD9973的相关讨论?是否需要发起讨论?

    在EngineerZone®上发起讨论

    近期浏览