MAXQ1103
新規設計には非推奨DeepCoverセキュアマイクロコントローラ、高速ゼロ化技術および暗号化内蔵
高度物理セキュリティおよび暗号化された外部バスを備えた暗号化マイクロコントローラ
- 製品モデル
- 1
- 1Ku当たりの価格
- 最低価格:$15.46
        Viewing:
        
    
    製品情報
- 高性能32ビットMAXQ30 RISCコア
- DC~25MHzで動作、MHz当りほぼ1MIPS
- デュアル1.8Vコア/3.3V I/Oによって、低電力/フレキシブルインタフェースが可能
- 5V耐圧I/O
- 最大32の汎用I/O端子
- 34の命令、大部分がシングルサイクル
- 3つの独立したデータポインタが、自動インクリメント/デクリメントでデータ転送を高速化
- 実質上無制限のソフトウェアスタック
- 16ビットの命令ワード、32ビットのデータバス
- 16 x 32ビット加算器
- セキュリティ機能- 3DES暗号化された外付けメモリバスによって盗聴を防止
- 以下の条件で、タンパーセンサは内部鍵とユーザデータを瞬時に「ゼロ化」:- 範囲外温度/電圧の検出
- ユーザ定義の自壊入力(SDIx)のアクティブ化
 
- 暗号化ハードウェアの内蔵:- DESエンジン:Single DESおよび2/3 Key 3DES動作をサポート
- ECDSA用の公開鍵暗号アクセラレータ(鍵長:160、192、および256)
- DSAおよびRSA用の公開鍵暗号アクセラレータ(鍵長:1024および2048)
- ハードウェアハッシュエンジン:SHA-1、SHA-224、SHA-256をサポート
 
- リセット不可の真のタイムクロックによって、有効期限と日付/時刻スタンプを自動刻印
 
- メモリ機能- セキュアメモリ管理ユニットおよび4KBの命令キャッシュ
- 512KBのフラッシュプログラムメモリ内蔵
- 3KBのプログラムメモリSRAM内蔵
- 32KBのデータSRAM内蔵(1KBバッテリバックNV SRAMを含む)
- リニアアドレス領域は、最大8MBの外付けプログラム/データメモリに直接アクセス
 
- ペリフェラル機能- 4つのエンドポイントバッファ付き、USBデバイスコントローラ
- 2つの物理的に個別の通信バス付きFIFOのISO 7816 UART
 
- パワーマネージメント機能
- デバッグポートまたはシリアルポートを介したインシステムプログラミング
- NV RAMおよびセキュリティセンサをサポートする超低バッテリリーク(150nA)
DeepCover®エンベデッドセキュリティソリューションは、機密データを高度物理セキュリティの複数レイヤ下に隠し、最もセキュアなキーストレージを実現します。
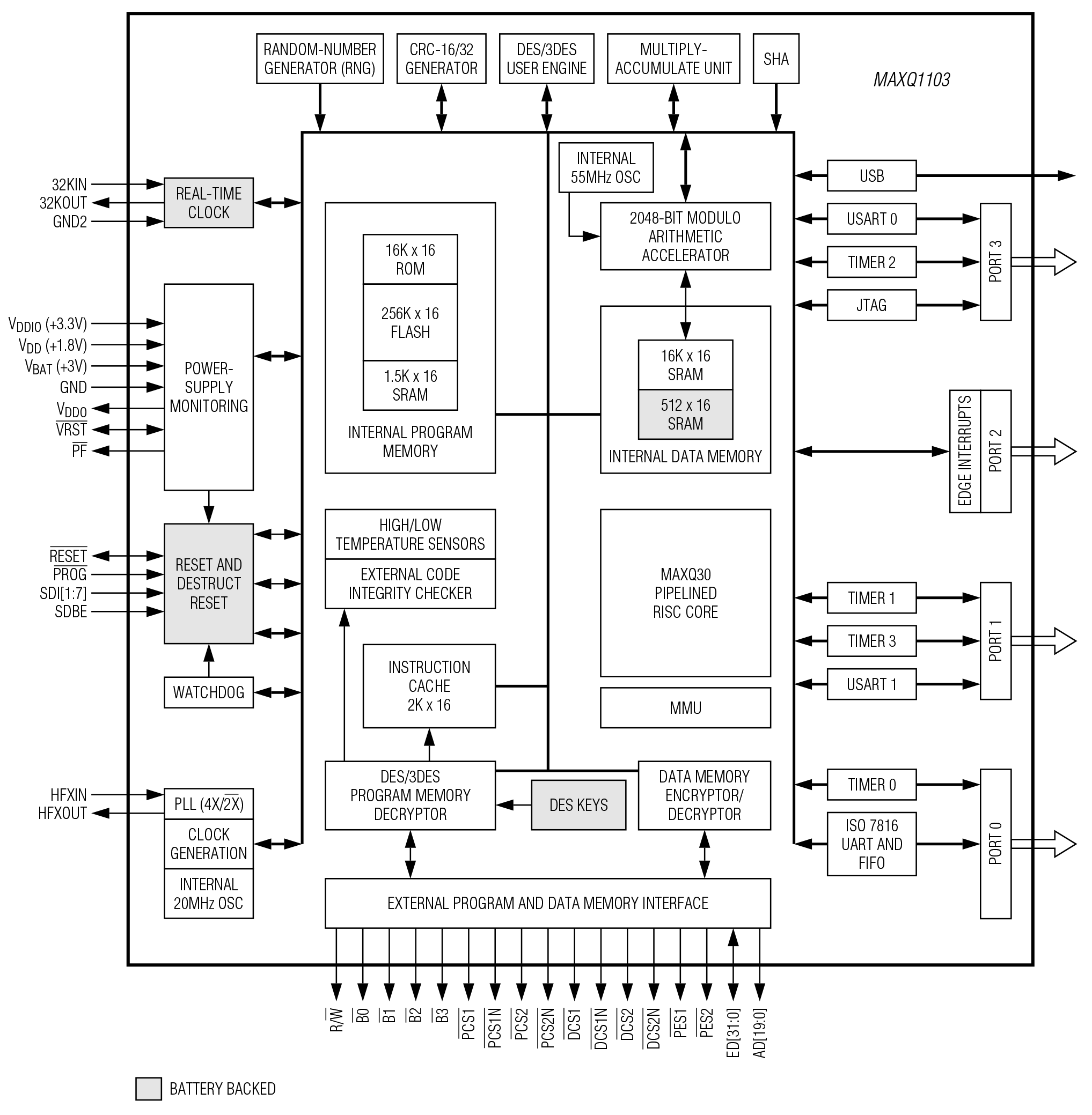
DeepCoverセキュアマイクロコントローラ(MAXQ1103)は、低電力、32ビットRISCデバイスで、高性能、シングルサイクルプロセス、高度なタンパー検出技術、および暗号ハードウェアを統合しています。高度なセキュリティ機能は、ITSEC E3 High、FIPS 140-2レベル3、およびCommon Criteria認定などの過酷な規制の要件を満たすように設計されています。MAXQ1103は、最高レベルのセキュアアクセス制御、セキュアデータストレージ、デジタル署名、または証明書認証が不可欠な電子商取引、銀行取引、およびデータセキュリティシステムをターゲットとしています。セキュアメモリ保護ユニットは、Triple DES (3DES)暗号化を使って重要な内蔵および外付けメモリをタンパーから保護します。タンパーセンサの始動によって、重要データのゼロ化が瞬時に起こります。内部物理シールド層によってダイに対する物理攻撃の複雑さとコストが増大しま
す。
32ビットMAXQ30コアは、暗号的にセキュアなMAXQ1103を駆動します。コード/データストレージ用の512KBの高性能内蔵フラッシュメモリおよび32KB SRAMを搭載したアプリケーションがサポートされています。最大8MBの追加外付けプログラムおよびデータメモリが、プログラマブルなウェイトステート付き専用ワード幅メモリバスでサポートされています。シリアルI/O、16ビットタイマー、ハードウェア数値計算アクセラレータ、ISO 7816 UART、およびUSBコントローラなどの追加のペリフェラルによって、部品点数を削減しながら、システムユーティリティを増大させています。
システムセキュリティは、ECDSA、DSA、RSA、セキュアハッシュアルゴリズム、および3 Key 3DES用の高速暗号ハードウェアアクセラレータの追加によって強化されています。組込みハッシュエンジンは、National Institute of Standards and Technology (NIST)によって推奨された複数のハッシュ関数をサポートしています。真のハードウェア乱数発生器(RNG)は、ソフトウェアライブラリが利用可能なFIPS 186-2をサポートしています。
注:設計者はこの製品の全機能を十分に利用するために以下の資料を備える必要があります。データシートには、端子説明、機能の概要、および電気的仕様が記載されています。正誤表には公表された仕様とは異なる内容が記載されています。ユーザガイドは製品の特長および動作についての詳しい情報を提供しています。
- MAXQ1103 ICのデータシート
- MAXQ1103の改訂正誤表(入手性についてはここをクリック)
- MAXQ®ファミリのユーザガイド
- MAXQファミリのユーザガイド:MAXQ1103用補足資料
アプリケーション
- ATMキーボード
- 認証証明
- 電子商取引
- 電子署名ジェネレータ
- EMV®銀行取引
- ペー・パー・プレイ
- PCI端末
- PINパッド
- セキュアアクセスコントロール
- セキュアデータストレージ
ドキュメント
データシート 1
信頼性データ 1
ユーザ・ガイド 3
アプリケーション・ノート 1
デザイン・ノート 3
秘密保持契約(NDA)をリクエスト
技術文書一式は、秘密保持契約(NDA)の締結後にご利用いただけます。
秘密保持契約(NDA)をリクエスト| 製品モデル | ピン/パッケージ図 | 資料 | CADシンボル、フットプリント、および3Dモデル | 
|---|---|---|---|
| MAXQ1103-ENS+ | 144-TQFP-20X20X1.0 | 
これは最新改訂バージョンのデータシートです。
ソフトウェア・リソース
必要なソフトウェア/ドライバが見つかりませんか?
ドライバ/ソフトウェアをリクエストハードウェア・エコシステム
| 製品モデル | 製品ライフサイクル | 詳細 | 
|---|---|---|
| マイクロコントローラ 1 | ||
| DS5250 | 最終販売 | 高速セキュアマイクロコントローラ | 
最新のディスカッション
MAXQ1103に関するディスカッションはまだありません。意見を投稿しますか?
EngineerZone®でディスカッションを始める