利用上の注意

本データシートの英語以外の言語への翻訳はユーザの便宜のために提供されるものであり、リビジョンが古い場合があります。最新の内容については、必ず最新の英語版をご参照ください。

なお、日本語版のデータシートは基本的に「Rev.0」(リビジョン0)で作成されています。そのため、英語版が後に改訂され、複数製品のデータシートがひとつに統一された場合、同じ「Rev.0」の日本語版のデータシートが異なる製品のデータシートとして表示されることがあります。たとえば、「ADM3307E」の場合、日本語データシートをクリックすると「ADM3311E」が表示されます。これは、英語版のデータシートが複数の製品で共有できるように1本化され、「ADM3307E/ADM3310E/ADM3311E/ADM3312E/ADM3315E」(Rev.J)と改訂されたからで、決して誤ってリンクが張られているわけではありません。和文化されたデータシートを少しでも有効に活用していただくためにこのような方法をとっておりますので、ご了解ください。

アナログ・デバイセズ社は、提供する情報が正確で信頼できるものであることを期していますが、その情報の利用に関して、あるいはその利用によって生じる第三者の特許やその他の権利の侵害に関して一切の責任を負いません。また、アナログ・デバイセズ社の特許または特許の権利の使用を明示的または暗示的に許諾するものでもありません。仕様は予告なしに変更する場合があります。本紙記載の商標および登録商標は、各社の所有に属します。

Viewing:

製品情報

  • Sample Rate: 105Msps
  • 65.4dB SNR up to 140MHz Input
  • 80dB SFDR up to 150MHz Input
  • 775MHz Full Power Bandwidth S/H
  • Single 3.3V Supply
  • Low Power Dissipation: 475mW
  • CMOS Outputs
  • Selectable Input Ranges: ±0.5V or ±1V
  • No Missing Codes
  • Optional Clock Duty Cycle Stabilizer
  • Shutdown and Nap Modes
  • Data Ready Output Clock
  • Pin Compatible Family
    • 135Msps: LTC2224 (12-Bit), LTC2234 (10-Bit)
    • 105Msps: LTC2222 (12-Bit), LTC2232 (10-Bit)
    • 80Msps: LTC2223 (12-Bit), LTC2233 (10-Bit)
  • 48-Pin 7mm × 7mm QFN Package

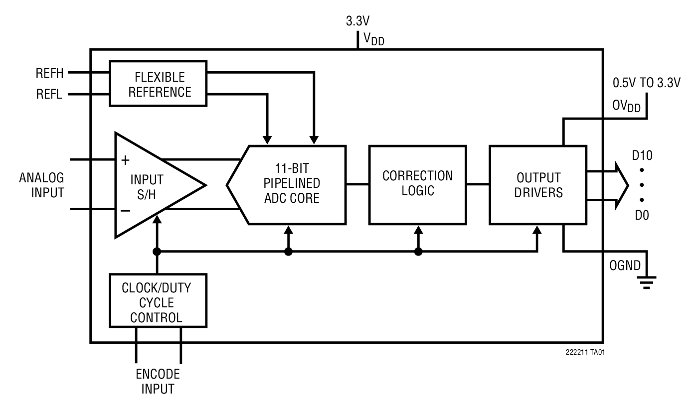
The LTC2222-11 is a 105Msps, sampling 11-bit A/D converter designed for digitizing high frequency, wide dynamic range signals. The LTC2222-11 is perfect for demanding communications applications with AC performance that includes 65.4dB SNR and 80dB spurious free dynamic range for signals up to 150MHz. Ultralow jitter of 0.15psRMS allows undersampling of IF frequencies with excellent noise performance.

DC specs include ±0.15LSB INL (typ), ±0.1LSB DNL (typ) and no missing codes over temperature. The transition noise is a low 0.25LSBRMS.

A separate output power supply allows the CMOS output swing to range from 0.5V to 3.3V.

The ENC+ and ENC inputs may be driven differentially or single ended with a sine wave, PECL, LVDS, TTL, or CMOS inputs. An optional clock duty cycle stabilizer allows high performance at full speed for a wide range of clock duty cycles.

Applications

  • Wireless and Wired Broadband Communication
  • Cable Head-End Systems
  • Power Amplifier Linearization
  • Communications Test Equipment

LTC2222-11
11-Bit, 105Msps ADC
SFDR vs Input Frequency Product Package 1
myAnalogに追加

myAnalogの製品セクション(通知受け取り)、既存/新規プロジェクトに製品を追加する。

新規プロジェクトを作成
質問する
サポート

アナログ・デバイセズのサポート・ページはアナログ・デバイセズへのあらゆるご質問にお答えするワンストップ・ポータルです。


ドキュメント

データシート 1

信頼性データ 1

ユーザ・ガイド 1

データシート

これは最新改訂バージョンのデータシートです。

さらに詳しく
myAnalogに追加

myAnalogのリソース・セクション、既存/新規プロジェクトにメディアを追加する。

新規プロジェクトを作成

ソフトウェア・リソース

評価用ソフトウェア 2

PScope

PScopeは、旧リニアテクノロジーの高性能ADCとシグナル・チェーン・レシーバ・ファミリーを使用するために設計されたUSBベースの製品デモおよびデータ収集システムです。このソフトウェアでは、SNR、SFDR、THDやその他の主要なパラメータを迅速かつ容易に評価することが出来ます。

LinearLabTools

リニアテクノロジーのデータ・コンバータ評価用ボードに直接アクセスできるMATLABとPythonのプログラムを集めたツールです。


評価用キット

eval board
DC751A-N

LTC2222IUK-11 | High Speed ADC, VDD = +3.3V, 105Msps, 11-Bit 100MHz< AIN <250MHz (Requires DC718)

製品詳細

DC751A-N: Demo Board for the LTC2222-11 11-Bit, 105Msps ADC.


 


eval board
DC751A-M

LTC2222IUK-11 | High Speed ADC, VDD = +3.3V, 105Msps, 11-Bit 1MHz < AIN < 100MHz (Requires DC718)

製品詳細

DC751A-M: Demo Board for the LTC2222-11 11-Bit, 105Msps ADC.


 


DC751A-N
LTC2222IUK-11 | High Speed ADC, VDD = +3.3V, 105Msps, 11-Bit 100MHz< AIN <250MHz (Requires DC718)
DC751A-A - Schematic
DC751A-M
LTC2222IUK-11 | High Speed ADC, VDD = +3.3V, 105Msps, 11-Bit 1MHz < AIN < 100MHz (Requires DC718)
DC751A-A - Schematic

最新のディスカッション

LTC2222-11に関するディスカッションはまだありません。意見を投稿しますか?

EngineerZone®でディスカッションを始める

最近表示した製品