DS1315
製造中ファントムタイムチップ
- 製品モデル
 - 14
 - 1Ku当たりの価格
 - 最低価格:$12.81
 
        Viewing:
        
    
    製品情報
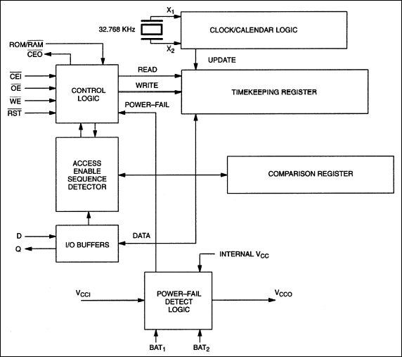
- Real-Time Clock Keeps Track of Hundredths of Seconds, Seconds, Minutes, Hours, Days, Date of the Month, Months, and Years
 - Automatic Leap Year Correction Valid Up to 2100
 - No Address Space Required to Communicate with RTC
 - Provides Nonvolatile Controller Functions for Battery Backup of SRAM
 - Supports Redundant Battery Attachment for High-Reliability Applications
 - Full ±10% VCC Operating Range
 - +3.3V or +5V Operation
 - Industrial (–40°C to +85°C) Operating Temperature Ranges Available
 
ドキュメント
データシート 2
信頼性データ 1
ユーザ・ガイド 1
デザイン・ノート 6
技術記事 3
| 製品モデル | ピン/パッケージ図 | 資料 | CADシンボル、フットプリント、および3Dモデル | 
|---|---|---|---|
| DS1315-33+ | Plastic Dual-In-Line, Narrow (0.3in) | ||
| DS1315-5+ | Plastic Dual-In-Line, Narrow (0.3in) | ||
| DS1315E-33+ | Thin Shrink Small-Outline Package | ||
| DS1315E-5+ | Thin Shrink Small-Outline Package | ||
| DS1315EN-33+ | Thin Shrink Small-Outline Package | ||
| DS1315EN-33+T&R | Thin Shrink Small-Outline Package | ||
| DS1315N-5+ | Plastic Dual-In-Line, Narrow (0.3in) | ||
| DS1315S-33+ | Small-Outline IC, Wide (0.3in) | ||
| DS1315S-33+T&R | Small-Outline IC, Wide (0.3in) | ||
| DS1315S-5+ | Small-Outline IC, Wide (0.3in) | ||
| DS1315S-5+T&R | Small-Outline IC, Wide (0.3in) | ||
| DS1315SN-33+ | Small-Outline IC, Wide (0.3in) | ||
| DS1315SN-33+T&R | Small-Outline IC, Wide (0.3in) | ||
| DS1315SN-5+ | Small-Outline IC, Wide (0.3in) | 
| 製品モデル | 製品ライフサイクル | PCN | 
|---|---|---|
| 
                                                            12 11, 2018 - 1754N ASSEMBLY  | 
                                                    ||
| DS1315E-33+ | 製造中 | |
| 
                                                            12 8, 2016 - 1613_ERRATA ASSEMBLY  | 
                                                    ||
| DS1315EN-33+ | 製造中 | |
| DS1315EN-33+T&R | 製造中 | |
これは最新改訂バージョンのデータシートです。
ソフトウェア・リソース
必要なソフトウェア/ドライバが見つかりませんか?
ドライバ/ソフトウェアをリクエスト最新のディスカッション
DS1315に関するディスカッションはまだありません。意見を投稿しますか?
EngineerZone®でディスカッションを始める