ADXL335

製造中

加速度センサ、3軸、±3g、小型、低消費電力

利用上の注意

本データシートの英語以外の言語への翻訳はユーザの便宜のために提供されるものであり、リビジョンが古い場合があります。最新の内容については、必ず最新の英語版をご参照ください。

なお、日本語版のデータシートは基本的に「Rev.0」(リビジョン0)で作成されています。そのため、英語版が後に改訂され、複数製品のデータシートがひとつに統一された場合、同じ「Rev.0」の日本語版のデータシートが異なる製品のデータシートとして表示されることがあります。たとえば、「ADM3307E」の場合、日本語データシートをクリックすると「ADM3311E」が表示されます。これは、英語版のデータシートが複数の製品で共有できるように1本化され、「ADM3307E/ADM3310E/ADM3311E/ADM3312E/ADM3315E」(Rev.J)と改訂されたからで、決して誤ってリンクが張られているわけではありません。和文化されたデータシートを少しでも有効に活用していただくためにこのような方法をとっておりますので、ご了解ください。

アナログ・デバイセズ社は、提供する情報が正確で信頼できるものであることを期していますが、その情報の利用に関して、あるいはその利用によって生じる第三者の特許やその他の権利の侵害に関して一切の責任を負いません。また、アナログ・デバイセズ社の特許または特許の権利の使用を明示的または暗示的に許諾するものでもありません。仕様は予告なしに変更する場合があります。本紙記載の商標および登録商標は、各社の所有に属します。

Viewing:

製品情報

  • 3軸センシング
  • 小型、薄型パッケージ:4mm×4mm×1.45mmのLFCSP
  • 低消費電力: 350µA(typ)
  • 単電源動作: 1.8 V~3.6V
  • 10,000gの衝撃耐性
  • 優れた温度安定性
  • 各軸1つのコンデンサで帯域幅の設定が可能
  • RoHS/WEEEリード・フリー準拠

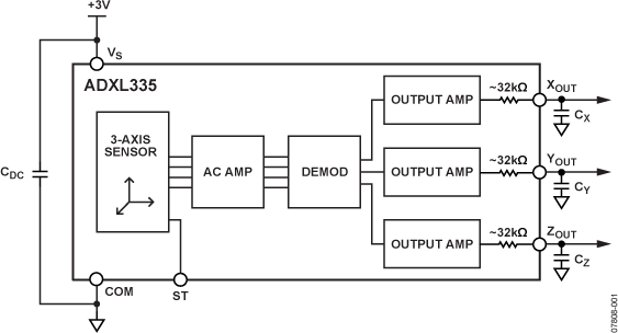
ADXL335は小型、薄型、低消費電力の完全な3軸加速度センサーで、信号処理された電圧出力のICです。この製品は、最小フルスケール・レンジが±3gで加速度を計測します。この製品は、傾きアプリケーションのような重力の静的加速度を計測することができると同時に、動き、衝撃あるいは振動のような動的加速度も計測できます。

ユーザーは、XOUT、YOUT、ZOUTピンにCX、CY、CZにコンデンサを用いて、加速度の帯域幅を設定することができます。帯域幅は、X軸とY軸に関しては5Hz∼1600Hz、Z軸に関しては0.5Hz~550Hzの範囲で、アプリケーションに応じて選択可能となっています。

ADXL335は、小型、薄型の4mm×4mm×1.45mm、16ピン、プラスチィック・リードフレーム・チップ・スケール・パッケージ(LFCSP_LQ)を採用しています。

アプリケーション 
  • 低価格/低消費電力が重要なモーション/傾きセンシング・アプリケーション 
  • 移動デバイス  
  • ゲーム・システム 
  • ディスク・ドライブ保護 
  • 画像安定化装置
  • スポーツ器具/健康機器
  • ADXL335
    加速度センサ、3軸、±3g、小型、低消費電力
    ADXL335 Functional Block Diagram
    myAnalogに追加

    myAnalogの製品セクション(通知受け取り)、既存/新規プロジェクトに製品を追加する。

    新規プロジェクトを作成
    質問する
    サポート

    アナログ・デバイセズのサポート・ページはアナログ・デバイセズへのあらゆるご質問にお答えするワンストップ・ポータルです。


    ドキュメント

    さらに詳しく
    myAnalogに追加

    myAnalogのリソース・セクション、既存/新規プロジェクトにメディアを追加する。

    新規プロジェクトを作成

    ソフトウェア・リソース

    必要なソフトウェア/ドライバが見つかりませんか?

    ドライバ/ソフトウェアをリクエスト

    評価用キット

    eval board
    EVAL-ADXL335

    ADXL335 Breakout Board

    製品詳細

    The EVAL-ADXL335Z is a simple breakout board that allows quick evaluation of the performance of the ADXL335 accelerometer. The ADXL335 is a 3-axis analog-output accelerometer with ±3 g measurement range. The small size (1" x 1") of the breakout board makes it easy to mount the accelerometer to an existing system without the need for additional hardware and with minimal effect on performance of the system and of the accelerometer.

    This page contains all the information related to the EVAL-ADXL335Z including documentation, pricing, and ordering information.

    EVAL-ADXL335
    ADXL335 Breakout Board

    最新のディスカッション

    最近表示した製品