ADV7189B

新規設計には非推奨

ビデオ・デコーダ、高性能12ビット、Noise Shaped Video®ADC内蔵

利用上の注意

本データシートの英語以外の言語への翻訳はユーザの便宜のために提供されるものであり、リビジョンが古い場合があります。最新の内容については、必ず最新の英語版をご参照ください。

なお、日本語版のデータシートは基本的に「Rev.0」(リビジョン0)で作成されています。そのため、英語版が後に改訂され、複数製品のデータシートがひとつに統一された場合、同じ「Rev.0」の日本語版のデータシートが異なる製品のデータシートとして表示されることがあります。たとえば、「ADM3307E」の場合、日本語データシートをクリックすると「ADM3311E」が表示されます。これは、英語版のデータシートが複数の製品で共有できるように1本化され、「ADM3307E/ADM3310E/ADM3311E/ADM3312E/ADM3315E」(Rev.J)と改訂されたからで、決して誤ってリンクが張られているわけではありません。和文化されたデータシートを少しでも有効に活用していただくためにこのような方法をとっておりますので、ご了解ください。

アナログ・デバイセズ社は、提供する情報が正確で信頼できるものであることを期していますが、その情報の利用に関して、あるいはその利用によって生じる第三者の特許やその他の権利の侵害に関して一切の責任を負いません。また、アナログ・デバイセズ社の特許または特許の権利の使用を明示的または暗示的に許諾するものでもありません。仕様は予告なしに変更する場合があります。本紙記載の商標および登録商標は、各社の所有に属します。

Viewing:

製品情報

  • ADV7189の性能をアップグレード
  • 改善されたTVおよびVCR入力同期処理
  • 割込み要求出力
  • 業務用アプリケーション向けの高精度
  • コンポジット・ビデオ・デコーディング

アナログ・デバイセズの新世代集積化ビデオ・デコーダ製品ADV7189Bは、世界的な標準規格NTSC、PAL、SECAM準拠の標準アナログ・ベースバンドTV信号を自動検出し、高精度の8ビット4:2:2のコンポーネント・ビデオ・データに変換します。

Bレビジョンでの更新により、ノイズが多い信号や微小な信号入力に対する性能が改善されたほか、VCRロッキング機能の改善、各種のデコーダ・コアの性能強化が行われました。リアルタイム・イベントの発生をフラグによってホスト・システムに通知する、割込み要求出力ピンも追加しました。

アナログ・デバイセズのADLLT(アダプティブ・デジタル・ライン長トラッキング)技術は、デジタル・ビデオ・キャプチャ、ビデオ信号処理、ビデオ・ディスプレイのアプリケーションにメリットをもたらします。変動する入力ビデオ品質を検出・同期化する独自開発のアーキテクチャADLLTは、以下のような機能を実現します。

  • 安定したTVチューナー信号のキャプチャ
  • 信頼性の高いVCR信号キャプチャ
  • 標準外のビデオ信号キャプチャ
  • ソースに依存した自動Y/C分離

アプリケーション

  • DVDデコーダ
  • ビデオ・プロジェクタ
  • HDDベースのPVR/DVDR
  • LCDTV
  • セットトップ・ボックス
  • 放送および業務用ビデオ装置
  • PCビデオ編集
  • 医療用および産業用ビデオ・キャプチャ

ADV7189B
ビデオ・デコーダ、高性能12ビット、Noise Shaped Video®ADC内蔵
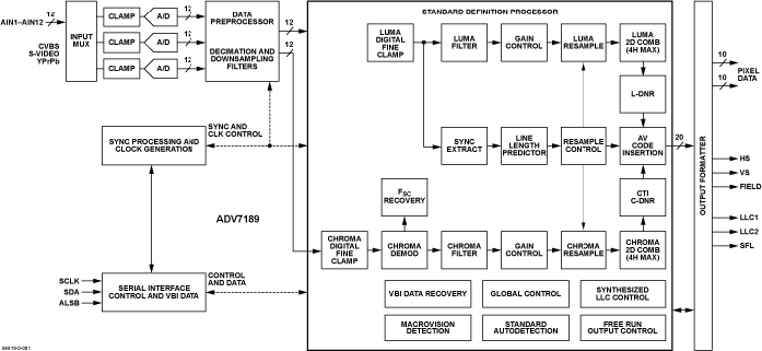
ADV7189B Functional Block Diagram ADV7189B Pin Configuration
myAnalogに追加

myAnalogの製品セクション(通知受け取り)、既存/新規プロジェクトに製品を追加する。

新規プロジェクトを作成
質問する
サポート

アナログ・デバイセズのサポート・ページはアナログ・デバイセズへのあらゆるご質問にお答えするワンストップ・ポータルです。


ドキュメント

さらに詳しく
myAnalogに追加

myAnalogのリソース・セクション、既存/新規プロジェクトにメディアを追加する。

新規プロジェクトを作成

最新のディスカッション

最近表示した製品