ADDI7013

製造中止

Dual-Channel CCD Signal Processor with Precision Timing Core

利用上の注意

本データシートの英語以外の言語への翻訳はユーザの便宜のために提供されるものであり、リビジョンが古い場合があります。最新の内容については、必ず最新の英語版をご参照ください。

なお、日本語版のデータシートは基本的に「Rev.0」(リビジョン0)で作成されています。そのため、英語版が後に改訂され、複数製品のデータシートがひとつに統一された場合、同じ「Rev.0」の日本語版のデータシートが異なる製品のデータシートとして表示されることがあります。たとえば、「ADM3307E」の場合、日本語データシートをクリックすると「ADM3311E」が表示されます。これは、英語版のデータシートが複数の製品で共有できるように1本化され、「ADM3307E/ADM3310E/ADM3311E/ADM3312E/ADM3315E」(Rev.J)と改訂されたからで、決して誤ってリンクが張られているわけではありません。和文化されたデータシートを少しでも有効に活用していただくためにこのような方法をとっておりますので、ご了解ください。

アナログ・デバイセズ社は、提供する情報が正確で信頼できるものであることを期していますが、その情報の利用に関して、あるいはその利用によって生じる第三者の特許やその他の権利の侵害に関して一切の責任を負いません。また、アナログ・デバイセズ社の特許または特許の権利の使用を明示的または暗示的に許諾するものでもありません。仕様は予告なしに変更する場合があります。本紙記載の商標および登録商標は、各社の所有に属します。

Viewing:

製品情報

  • CDS or SHA (CDS bypass) with 7 gain settings
  • 0 dB to 36 dB, 10-bit variable gain amplifier (VGA)
  • 16-bit, 75 MSPS analog-to-digital converter (ADC)
  • Precision Timing core with 210 ps resolution at 75 MHz
  • 8 independent H-clock phases with programmable drive strength (3.6V maximum swing)
  • Differential analog inputs
  • 4 general-purpose outputs (GPO)
  • On-chip sync generator with external sync input
  • Reduced-range LVDS outputs with single clock lane
  • 6 mm × 6 mm CSP_BGA package with 0.5 mm pitch

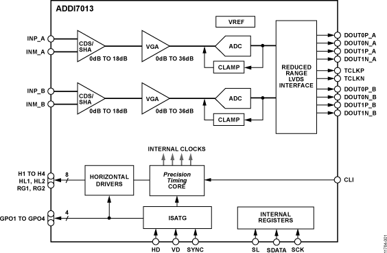
The ADDI7013 is a highly integrated, dual-channel, CCD signal processor for high speed digital imaging applications. Each channel is specified at pixel rates of up to 75 MHz and consists of a complete analog front end (AFE) with analog-to-digital conversion. The Precision Timing® core allows adjustment of the correlated double sampler (CDS) and horizontal clocks with 210 ps resolution at 75 MHz operation. There are eight independent horizontal clock outputs with programmable drive strength to support a variety of CCD timing requirements.

Each analog front end includes black level clamping, a CDS, a VGA, and a 75 MSPS, 16-bit analog-to-digital converter (ADC). Operation is programmed using a 3-wire serial interface.

Packaged in a space-saving, 6 mm × 6 mm, CSP_BGA, the ADDI7013 is specified over an operating temperature range of −40°C to +85°C.

APPLICATIONS

  • Industrial cameras
  • Surveillance cameras
  • Medical imaging
  • Professional photography

ADDI7013
Dual-Channel CCD Signal Processor with Precision Timing Core
ADDI7013 Functional Block Diagram ADDI7013 Pin Configuration
myAnalogに追加

myAnalogの製品セクション(通知受け取り)、既存/新規プロジェクトに製品を追加する。

新規プロジェクトを作成
質問する
サポート

アナログ・デバイセズのサポート・ページはアナログ・デバイセズへのあらゆるご質問にお答えするワンストップ・ポータルです。


ドキュメント

さらに詳しく
myAnalogに追加

myAnalogのリソース・セクション、既存/新規プロジェクトにメディアを追加する。

新規プロジェクトを作成

ソフトウェア・リソース

必要なソフトウェア/ドライバが見つかりませんか?

ドライバ/ソフトウェアをリクエスト

最新のディスカッション

最近表示した製品