LTC2224

PRODUCTION

12-Bit, 135Msps ADC

Viewing:

Overview

  • Sample Rate: 135Msps
  • 67.3dB SNR up to 140MHz Input
  • 80dB SFDR up to 150MHz Input
  • 775MHz Full Power Bandwidth S/H
  • Single 3.3V Supply
  • Low Power Dissipation: 630mW
  • CMOS Outputs
  • Selectable Input Ranges: ±0.5V or ±1V
  • No Missing Codes
  • Optional Clock Duty Cycle Stabilizer
  • Shutdown and Nap Modes
  • Data Ready Output Clock
  • Pin Compatible Family
    • 135Msps: LTC2224 (12-Bit), LTC2234 (10-Bit)
    • 105Msps: LTC2222 (12-Bit), LTC2232 (10-Bit)
    • 80Msps: LTC2223 (12-Bit), LTC2233 (10-Bit)
  • 48-Pin 7mm × 7mm QFN Package

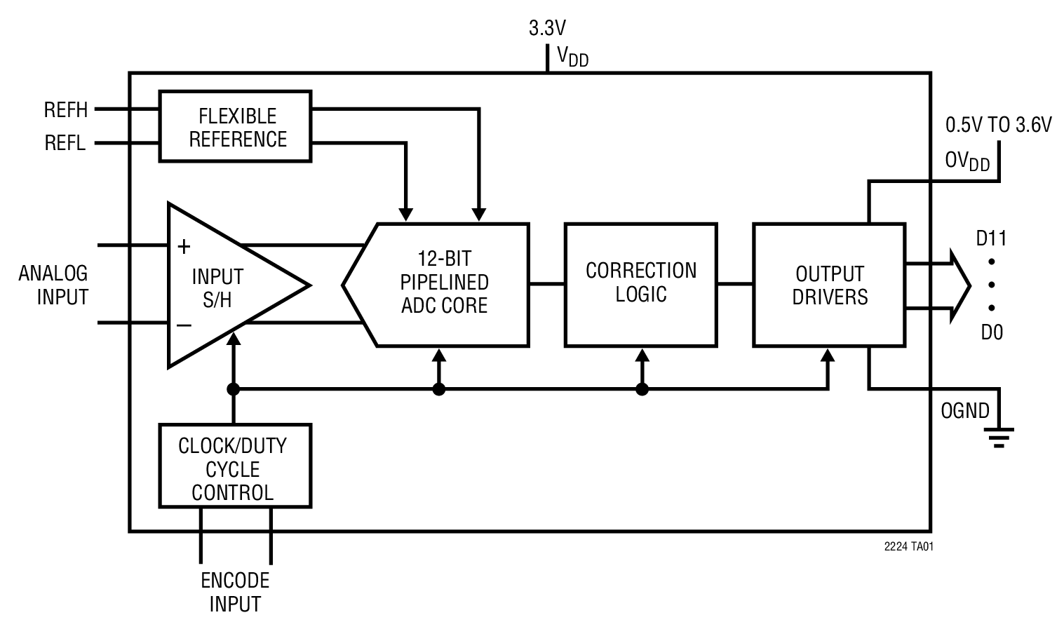
The LTC2224 is a 135Msps, sampling 12-bit A/D converter designed for digitizing high frequency, wide dynamic range signals. The LTC2224 is perfect for demanding communications applications with AC performance that includes 67.3dB SNR and 80dB spurious free dynamic range for signals up to 150MHz. Ultralow jitter of 0.15psRMS allows undersampling of IF frequencies with excellent noise performance.

DC specs include ±0.4LSB INL (typ), ±0.3LSB DNL (typ) and no missing codes over temperature. The transition noise is a low 0.5LSBRMS.

A separate output power supply allows the CMOS output swing to range from 0.5V to 3.6V.

The ENC+ and ENC inputs may be driven differentially or single ended with a sine wave, PECL, LVDS, TTL, or CMOS inputs. An optional clock duty cycle stabilizer allows high performance at full speed for a wide range of clock duty cycles.

Applications

  • Wireless and Wired Broadband Communication
  • Cable Head-End Systems
  • Power Amplifier Linearization
  • Communications Test Equipment

LTC2224
12-Bit, 135Msps ADC
SFDR vs Input Frequency Product Package 1
Add to myAnalog

Add product to the Products section of myAnalog (to receive notifications), to an existing project or to a new project.

Create New Project
Ask a Question

Documentation

Data Sheet 1

Reliability Data 1

User Guide 1

Data Sheet

This is the most up-to-date revision of the Data Sheet.

Learn More
Add to myAnalog

Add media to the Resources section of myAnalog, to an existing project or to a new project.

Create New Project

Software Resources

Evaluation Software 2

PScope

The PScope System is a USB-based product demonstration and data acquisition system for use with high performance ADCs and signal chain receiver family. PScope allows users to evaluate the SNR, SFDR, THD, as well as other key parameters, quickly and easily.

LinearLab Tools

A collection of Matlab and Python programs that provide direct access to Linear Technology’s data converter evaluation boards.


Hardware Ecosystem

Parts Product Life Cycle Description
Differential Amplifiers 1
LTC6400-20 LAST TIME BUY 1.8GHz Low Noise, Low Distortion Differential ADC Driver for 300MHz IF
Modal heading
Add to myAnalog

Add product to the Products section of myAnalog (to receive notifications), to an existing project or to a new project.

Create New Project

Tools & Simulations


Evaluation Kits

eval board
DC751A-K

LTC2224IUK | High Speed ADC, VDD = +3.3V, 135Msps, 12-Bit 100MHz < AIN < 250MHz (Requires DC718)

Product Details

DC751A-K: Demo Board for the LTC2224 12-Bit, 135Msps ADC.

eval board
DC751A-I

LTC2224IUK | High Speed ADC, VDD = +3.3V, 135Msps, 12-Bit 1MHz < AIN < 100MHz (Requires DC718)

Product Details

DC751A-I: Demo Board for the LTC2224 12-Bit, 135Msps ADC.

DC751A-K
LTC2224IUK | High Speed ADC, VDD = +3.3V, 135Msps, 12-Bit 100MHz < AIN < 250MHz (Requires DC718)
DC751A-A - Schematic
DC751A-I
LTC2224IUK | High Speed ADC, VDD = +3.3V, 135Msps, 12-Bit 1MHz < AIN < 100MHz (Requires DC718)
DC751A-A - Schematic

Latest Discussions

No discussions on LTC2224 yet. Have something to say?

Start a Discussion on EngineerZone®

Recently Viewed