ADM1075

LAST TIME BUY

−48 V Hot Swap Controller and Digital Power Monitor with PMBus Interface

Viewing:

Overview

  • Constant power foldback for FET SOA protection
  • Precision (<1.0%) current and voltage measurement
  • Controls inrush and faults for negative supply voltages
  • Suitable for wide input range due to internal shunt regulator
  • 25 mV/50 mV full-scale sense voltage
  • Fine tune current limit to allow use of standard sense resistor
  • Soft start inrush current limit profiling
  • 1% accurate UVH and OV pins, 1.5% accurate UVL pin
  • PMBus interface for control, telemetry, and fault recording
  • 28-lead TSSOP
  • -40°C to 105°C junction temperature (TJ) operating range

The ADM1075 is a full feature, negative voltage, hot swap controller with constant power foldback and high accuracy digital current and voltage measurement that allows boards to be safely inserted and removed from a live -48 V backplane. The part provides precise and robust current limiting and protection against both transient and nontransient short circuits and overvoltage and undervoltage conditions. The ADM1075 typically operates from a negative voltage of -35 V to -80 V and, due to shunt regulation, has excellent voltage transient immunity. The operating range of the part is flexible due to the shunt regulator, and the part can be powered directly by a 10 V rail to save shunt power dissipation (see the Powering the ADM1075 section for more details).

A full-scale current limit of 25 mV or 50 mV can be selected by choosing the appropriate model. The maximum current limit is set by the combination of the sense resistor, RSENSE, and the input voltage on the ISET pin, using external resistors. This allows fine tuning of the trip voltage so that standard sense resistors can be used. Inrush current is limited to this programmable value by controlling the gate drive of an external N-channel FET. A builtin soft start function allows control of the inrush current profile by an external capacitor on the soft start (SS) pin.

Refer to the datasheet for more information.

PRODUCT HIGHLIGHTS

  1. Constant Power Foldback.
    Maximum FET power set by a PLIM resistor divider. This eases complexity when designing to maintain FET SOA.
  2. Adjustable Current Limit.
    The current limit is adjustable via the ISET pin allowing for the use of a standard value sense resistor.
  3. 12-Bit ADC.
    Accurate voltage, current, and power measurements. Also enables calculation of energy consumption over time.
  4. PMBus Interface.
    PMBus fast mode compliant interface used to read back status and data registers and set warning and fault limits.
  5. Fault Recording.
    Latched status registers provide useful debugging information to help trace faults in high reliability systems.
  6. Built-In Soft Start.
    Soft start capacitor controls inrush current profile with di/dt control.

APPLICATIONS

  • Telecommunication and data communication equipment
  • Central office switching
  • -48 V distributed power systems
  • Negative power supply control
  • High availability servers

ADM1075
−48 V Hot Swap Controller and Digital Power Monitor with PMBus Interface
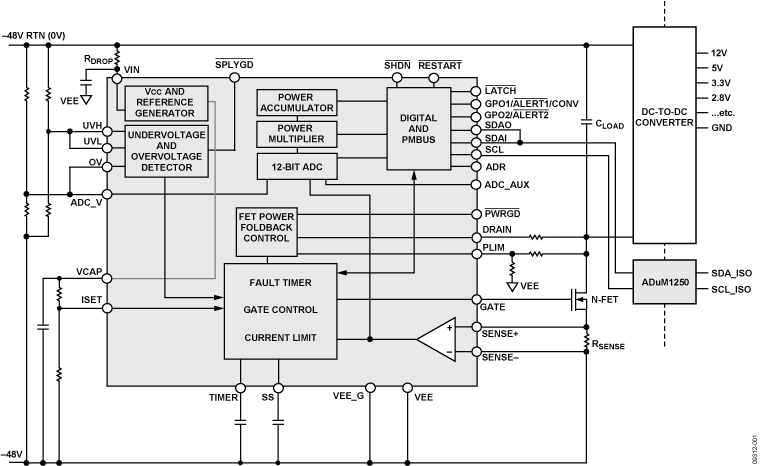
ADM1075 Functional Block Diagram ADM1075-pc
Add to myAnalog

Add product to the Products section of myAnalog (to receive notifications), to an existing project or to a new project.

Create New Project
Ask a Question

Documentation

Learn More
Add to myAnalog

Add media to the Resources section of myAnalog, to an existing project or to a new project.

Create New Project

Software Resources

Evaluation Software 2

ADMxxxx Common Run-Time

 

Hot-Swap & Power Monitoring Evaluation Software

 


Tools & Simulations

Hot Swap Controller Simulation Model Rev. 6

Open Tool

Evaluation Kits

EVAL-ADM1075

ADM1075 Evaluation Board

Product Details

This page contains evaluation board documentation and ordering information for evaluating this product.

EVAL-ADM1075
ADM1075 Evaluation Board

Latest Discussions

Recently Viewed