ADG792G

Obsolete

I2C-Compatible, Wide Bandwidth, Triple 4:1 Multiplexer w/2 General-Purpose Logic Output Pins Controllable Through the I2C Interface

Viewing:

Overview

  • Bandwidth: 190 MHz
  • Low Insertion Loss and On Resistance: 2.6 Ω Typical
  • On Resistance Flatness: 0.3 Ω Typical
  • Single 3 V/5 V Supply Operation
  • 3.3 V Analog Signal Range (5 V Supply, 75 Ω Load)
  • Low Quiescent Supply Current: 1 nA Typical
  • Fast Switching Times
    tON 185 ns
    tOFF 181 ns
  • I2C-Compatible Interface
  • Compact 24-lead LFCSP
  • Two I2C-controllable Logic Outputs

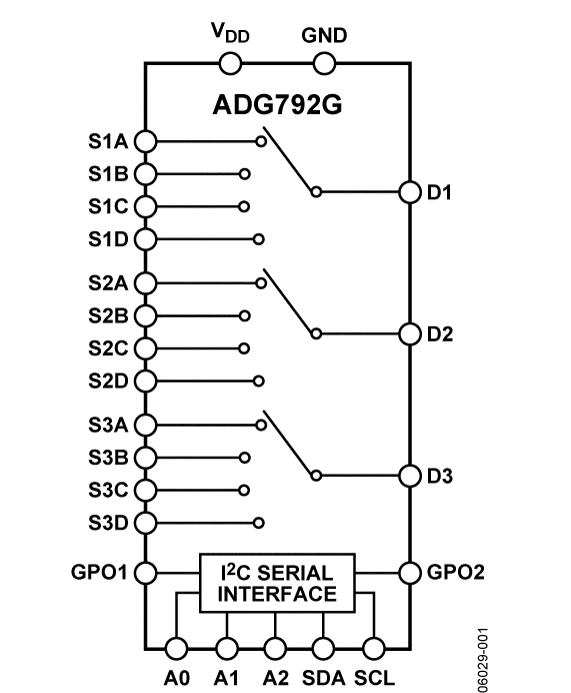
The ADG792A/ADG792G is a monolithic CMOS device comprising three 4:1 multiplexer/demultiplexers that are controllable through a standard I2C serial interface. The CMOS process provides ultralow power dissipation yet delivers high switching speed and low on resistance.

The on resistance profile is very flat over the full analog input range, and wide bandwidth ensures excellent linearity and low distortion. These features, combined with a wide input signal range, make the ADG792A/ADG792G the ideal switching solution for a wide range of TV applications, including RGB and YPbPr video switches.

When turned on, the switches conduct equally well in both directions. In the off condition, signal levels, up to the supplies, are blocked. The ADG792A/ADG792G switches exhibit breakbefore-make switching action. The ADG792G also has two general-purpose logic output pins controllable through the I2C interface to control other non-I2C-compatible devices, such as video filters. The integrated I2C interface provides a large degree of flexibility in the system design. To build larger switching arrays, the user can set the three I2C address pins allowing as many as eight devices to connect to the same bus.

The ADG792A/ADG792G operates from a single 3 V or 5 V supply voltage and is available in a compact 4 mm × 4 mm body, 24-lead, Pb-free, LFCSP package.

Applications
  • RGB/YPbPr Video Switches
  • HDTV
  • Projection TV
  • DVD-R/RW
  • AV Receiver
  • ADG792G
    I2C-Compatible, Wide Bandwidth, Triple 4:1 Multiplexer w/2 General-Purpose Logic Output Pins Controllable Through the I2C Interface
    453034245ADG792G-fbl ADG792G-pc
    Add to myAnalog

    Add product to the Products section of myAnalog (to receive notifications), to an existing project or to a new project.

    Create New Project
    Ask a Question

    Documentation

    Learn More
    Add to myAnalog

    Add media to the Resources section of myAnalog, to an existing project or to a new project.

    Create New Project

    Software Resources

    Latest Discussions

    Recently Viewed