ADDI7100

Obsolete

Complete, 12-Bit, 45 MHz CCD Signal Processor

Viewing:

Overview

  • Pin-compatible upgrade for the AD9945
  • 45 MHz correlated double sampler (CDS) with variable gain
  • 6 dB to 42 dB, 10-bit variable gain amplifier (VGA)
  • Low noise optical black clamp circuit
  • Preblanking function
  • 12-bit, 45 MHz ADC
  • No missing codes guaranteed
  • 3-wire serial digital interface
  • 3 V single-supply operation
  • Space-saving, 32-lead, 5 mm × 5 mm LFCSP

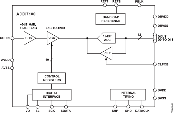
The ADDI7100 is a complete analog signal processor for charge-coupled device (CCD) applications. It features a 45 MHz, single-channel architecture designed to sample and condition the outputs of interlaced and progressive scan area CCD arrays. The signal chain for the ADDI7100 consists of a correlated double sampler (CDS), a digitally controlled variable gain amplifier (VGA), a black level clamp, and a 12-bit ADC.

The internal registers are programmed through a 3-wire serial digital interface. Programmable features include gain adjustment, black level adjustment, input clock polarity, and power-down modes. The ADDI7100 operates from a single 3 V power supply, typically dissipates 125 mW, and is packaged in a space-saving, 32-lead LFCSP.

Applications

  • Digital still cameras
  • Digital video camcorders
  • PC cameras
  • Portable CCD imaging devices
  • CCTV cameras

ADDI7100
Complete, 12-Bit, 45 MHz CCD Signal Processor
ADDI7100 Functional Block Diagram ADDI7100 Pin Configuration
Add to myAnalog

Add product to the Products section of myAnalog (to receive notifications), to an existing project or to a new project.

Create New Project
Ask a Question

Documentation

Learn More
Add to myAnalog

Add media to the Resources section of myAnalog, to an existing project or to a new project.

Create New Project

Software Resources

Can't find the software or driver you need?

Request a Driver/Software

Latest Discussions

Recently Viewed