ADDI7013

Obsolete

Dual-Channel CCD Signal Processor with Precision Timing Core

Viewing:

Overview

  • CDS or SHA (CDS bypass) with 7 gain settings
  • 0 dB to 36 dB, 10-bit variable gain amplifier (VGA)
  • 16-bit, 75 MSPS analog-to-digital converter (ADC)
  • Precision Timing core with 210 ps resolution at 75 MHz
  • 8 independent H-clock phases with programmable drive strength (3.6V maximum swing)
  • Differential analog inputs
  • 4 general-purpose outputs (GPO)
  • On-chip sync generator with external sync input
  • Reduced-range LVDS outputs with single clock lane
  • 6 mm × 6 mm CSP_BGA package with 0.5 mm pitch

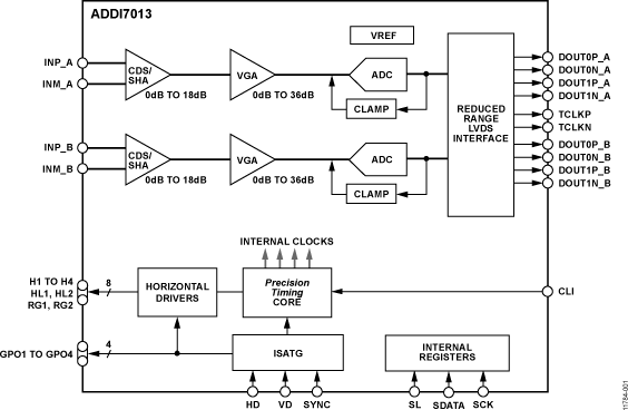
The ADDI7013 is a highly integrated, dual-channel, CCD signal processor for high speed digital imaging applications. Each channel is specified at pixel rates of up to 75 MHz and consists of a complete analog front end (AFE) with analog-to-digital conversion. The Precision Timing® core allows adjustment of the correlated double sampler (CDS) and horizontal clocks with 210 ps resolution at 75 MHz operation. There are eight independent horizontal clock outputs with programmable drive strength to support a variety of CCD timing requirements.

Each analog front end includes black level clamping, a CDS, a VGA, and a 75 MSPS, 16-bit analog-to-digital converter (ADC). Operation is programmed using a 3-wire serial interface.

Packaged in a space-saving, 6 mm × 6 mm, CSP_BGA, the ADDI7013 is specified over an operating temperature range of −40°C to +85°C.

APPLICATIONS

  • Industrial cameras
  • Surveillance cameras
  • Medical imaging
  • Professional photography

ADDI7013
Dual-Channel CCD Signal Processor with Precision Timing Core
ADDI7013 Functional Block Diagram ADDI7013 Pin Configuration
Add to myAnalog

Add product to the Products section of myAnalog (to receive notifications), to an existing project or to a new project.

Create New Project
Ask a Question

Documentation

Learn More
Add to myAnalog

Add media to the Resources section of myAnalog, to an existing project or to a new project.

Create New Project

Software Resources

Can't find the software or driver you need?

Request a Driver/Software

Latest Discussions

Recently Viewed