AD9387NK

NOT RECOMMENDED FOR NEW DESIGNS

High Performance, Low Power HDMI®/DVI Transmitter

Viewing:

Overview

GENERAL

  • Low power HDMI/DVI transmitter ideal for portable applications
  • Compatible with HDMI v.1.3, DVI v.1.0, and HDCP 1.3
  • Single 1.8 V power supply
  • Video/audio inputs accept logic levels from 1.8 V to 3.3 V

DIGITAL VIDEO

  • 80 MHz operation supports all HDTV resolutions from 480i to 1080i
  • Programmable 2-way color space converter
  • Supports RGB, YCbCr, and DDR
  • Supports ITU656-based embedded syncs
  • Automatic input video format timing detection (CEA-861D)

DIGITAL AUDIO

  • Supports standard S/PDIF for stereo LPCM or compressed audio up to 192 kHz
  • 8-channel, uncompressed LPCM I2S audio up to 192 kHz

SPECIAL FEATURES FOR EASY SYSTEM DESIGN

  • On-chip MPU with I2C master to perform HDCP operations and EDID reading operations
  • 5 V tolerant I2C and HPD I/Os, no extra device needed
  • No audio master clock needed for supporting S/PDIF and I2S
  • On-chip MPU reports HDMI events through interrupts and registers

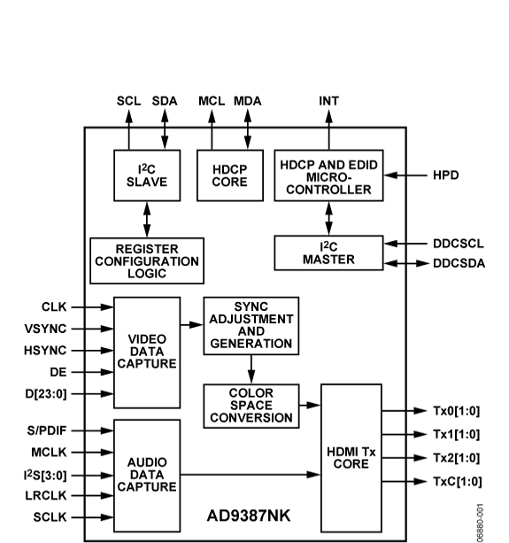
The AD9387NK is an 80 MHz, high definition multimedia interface (HDMI®) v.1.3 transmitter. It supports HDTV formats up to 720p and 1080i and computer graphic resolutions up to XGA (1024 × 768 @ 75 Hz). With the inclusion of HDCP, the AD9387NK allows the secure transmission of protected content, as specified by the HDCP 1.3 protocol.

The AD9387NK supports both S/PDIF and 8-channel I2S audio. Its high fidelity, 8-channel I2S can transmit either stereo or 7.1 surround audio at 192 kHz. The S/PDIF can carry stereo linear pulse-code modulation (LPCM) audio or compressed audio, including Dolby® Digital and DTS®.

The AD9387NK helps reduce system design complexity and cost by incorporating such features as an internal microprocessor for high-bandwidth digital content protection (HDCP) operations, an I2C® master for extended display identification data (EDID) reading, a single 1.8 V power supply, and 5 V tolerance on the I2C and hot plug detect pins. For additional information and resources, see the Applications Information section.

Fabricated in an advanced CMOS process, the AD9387NK is available in a space saving, 76-ball CSP_BGA. The package is RoHS compliant and is specified from −25°C to +90°C operation.

APPLICATIONS

  • Digital video cameras
  • Digital still cameras
  • Personal media players
  • Cellular handsets
  • DVD players and recorders
  • Digital set-top boxes
  • A/V receivers
  • HDMI repeater/splitter

AD9387NK
High Performance, Low Power HDMI®/DVI Transmitter
AD9387NK Functional Block Diagram AD9387NK Pin Configuration AD9387NK Pin Configuration
Add to myAnalog

Add product to the Products section of myAnalog (to receive notifications), to an existing project or to a new project.

Create New Project
Ask a Question

Documentation

Learn More
Add to myAnalog

Add media to the Resources section of myAnalog, to an existing project or to a new project.

Create New Project

Hardware Ecosystem

Parts Product Life Cycle Description
ADV7513 RECOMMENDED FOR NEW DESIGNS 165 MHz High Performance HDMI Transmitter
ADV7524A RECOMMENDED FOR NEW DESIGNS Low Power HDMI®/DVI Transmitter with Consumer Electronic Control (CEC)
Modal heading
Add to myAnalog

Add product to the Products section of myAnalog (to receive notifications), to an existing project or to a new project.

Create New Project

Evaluation Kits

EVAL-AD9387NK
AD9387NK Evaluation Board

Latest Discussions

Recently Viewed