Two engineers working in the lab

利用ADI一套新的精密技术信号链,可节省时间并加快交付解决方案。从智能工业到仪器仪表、电气化到数字健康,您的应用都能找到匹配的精密技术组合产品。

放心定制您的信号链

MAX9679

预发布

12通道、10位可编程gamma和VCOM基准电压源

业内精度最高的gamma曲线参考系统

产品技术资料帮助

ADI公司所提供的资料均视为准确、可靠。但本公司不为用户在应用过程中侵犯任何专利权或第三方权利承担任何责任。技术指标的修改不再另行通知。本公司既没有含蓄的允许,也不允许借用ADI公司的专利或专利权的名义。本文出现的商标和注册商标所有权分别属于相应的公司。

Viewing:

概述

  • 12通道、10位分辨率可编程gamma电压
  • 具有10位分辨率的可编程VCOM电压
  • 可编程DAC基准电压
  • 多次编程存储器用于存储gamma和VCOM编码
  • 在两组gamma曲线和VCOM电压之间切换
  • AVDD1、AVDD2和AVDD_AMP供电电源降低器件发热
  • I²C接口(1MHz快速模式)

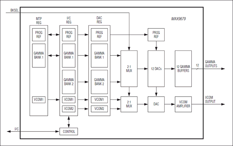
MAX9679提供多路可编程基准电压,用于TFT LCD的gamma校正;另外还有一路可编程电压基准用于VCOM调节。所有gamma和VCOM基准电压可由10位数/模转换器(DAC)控制,具有大电流缓冲输出,大大缩短了显示临界电平和模板时输出电压的恢复时间。利用内部可编程基准设定DAC的满量程电压。

两组独立的gamma曲线和VCOM编码可以存储在IC内部的易失存储器,利用BKSEL信号选择两组设定值。

IC具有可多次编程(MTP)存储器,用于存储gamma和VCOM编码,无需外部EEPROM。

应用

  • TFT-LCD

MAX9679
12通道、10位可编程gamma和VCOM基准电压源
MAX9679: Simplified Block Diagram
添加至 myAnalog

将产品添加到myAnalog 的现有项目或新项目中(接收通知)。

创建新项目
提问

参考资料

了解更多
添加至 myAnalog

Add media to the Resources section of myAnalog, to an existing project or to a new project.

创建新项目

最新评论

需要发起讨论吗? 没有关于 MAX9679的相关讨论?是否需要发起讨论?

在EngineerZone®上发起讨论

近期浏览