ADV7176A

过期

数字CCIR-601至PAL/NTSC视频编码器,内置4个10位DAC和图文电视插入功能

Viewing:

概述

  • TU-R BT601/656 YcrCb至PAL/NTSC视频编码器
  • 高质量、10位视频DAC
  • 积分非线性:<1 LSB(10位)
  • NTSC-M、PAL-M/N、PAL-B/D/G/H/I
  • 需要27 MHz单时钟(2倍过采样)
  • 视频信噪比(SNR):80 dB
  • 适合彩色副载波的32位直接数字频率合成器
  • 复合(CVBS)
    分量S视频(Y/C)
    分量YUV和RGB
    EuroSCART输出(RGB + CVBS/LUMA)
  • 支持视频输入数据端口:
    CCIR-656 4:2:2 8位并行输入格式
    4:2:2 16位并行输入格式
  • 全视频输出驱动或低信号驱动功能
    34.7 mA(最大值,37.5 Ω)(双端接75R)
    5 mA(最小值,外部缓冲)
  • 可编程同步复合和S视频Y/C或RGB (SCART)/YUV视频输出
  • 可编程亮度滤波器(低通/陷波/扩展)

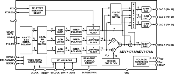
ADV7175A/ADV7176A均为集成式数字视频编码器,能够将数字CCIR-601 4:2:2 8位或16位分量视频数据转换为与全球标准兼容的标准模拟基带电视信号。4:2:2 YUV视频数据通过插值放大为像素速率的两倍。利用一个片内32位数字频率合成器(同样工作于两倍像素速率)产生的副载波频率对色差分量(UV)进行正交调制。两倍像素速率采样模式可以实现更佳的信噪比。内置10位查找表的32位DDS产生的副载波在频率和相位两个方面均非常出色。除复合输出信号外,还可输出S视频(Y/C)视频、YUV或RGB视频信号。Y/C、YUV或RGB格式可以与复合视频信号一起在模拟输出端同时提供。

ADV7176A
数字CCIR-601至PAL/NTSC视频编码器,内置4个10位DAC和图文电视插入功能
592329441ADV7176A-fbl
添加至 myAnalog

将产品添加到myAnalog 的现有项目或新项目中(接收通知)。

创建新项目
提问

参考资料

了解更多
添加至 myAnalog

Add media to the Resources section of myAnalog, to an existing project or to a new project.

创建新项目

最新评论

需要发起讨论吗? 没有关于 ADV7176A的相关讨论?是否需要发起讨论?

在EngineerZone®上发起讨论

近期浏览