DS9092GT

新規設計に推奨

iButtonプローブ

利用上の注意

本データシートの英語以外の言語への翻訳はユーザの便宜のために提供されるものであり、リビジョンが古い場合があります。最新の内容については、必ず最新の英語版をご参照ください。

なお、日本語版のデータシートは基本的に「Rev.0」(リビジョン0)で作成されています。そのため、英語版が後に改訂され、複数製品のデータシートがひとつに統一された場合、同じ「Rev.0」の日本語版のデータシートが異なる製品のデータシートとして表示されることがあります。たとえば、「ADM3307E」の場合、日本語データシートをクリックすると「ADM3311E」が表示されます。これは、英語版のデータシートが複数の製品で共有できるように1本化され、「ADM3307E/ADM3310E/ADM3311E/ADM3312E/ADM3315E」(Rev.J)と改訂されたからで、決して誤ってリンクが張られているわけではありません。和文化されたデータシートを少しでも有効に活用していただくためにこのような方法をとっておりますので、ご了解ください。

アナログ・デバイセズ社は、提供する情報が正確で信頼できるものであることを期していますが、その情報の利用に関して、あるいはその利用によって生じる第三者の特許やその他の権利の侵害に関して一切の責任を負いません。また、アナログ・デバイセズ社の特許または特許の権利の使用を明示的または暗示的に許諾するものでもありません。仕様は予告なしに変更する場合があります。本紙記載の商標および登録商標は、各社の所有に属します。

Viewing:

製品情報

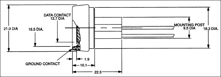
  • Simple, low-cost metal stampings form a read/write probe for the iButton family
  • Probe guides the entry of the iButton
  • iButton slides over the surface to self-clean contacts
  • Accessible shallow probe cavity simplifies removal of debris such as mud
  • Flexible design supports panel-mount or hand-grip mount with optional tactile feedback
  • Bright tarnish-resistant metal surface provides millions of operations
  • Panel-mount probe, prewired for easy installation
  • Hand-grip probe mates to RJ-11 jack for quick installation

DS9092GT
iButtonプローブ
DS9092、DS9092GT、DS9092T:標準プローブ
myAnalogに追加

myAnalogの製品セクション(通知受け取り)、既存/新規プロジェクトに製品を追加する。

新規プロジェクトを作成
質問する
サポート

アナログ・デバイセズのサポート・ページはアナログ・デバイセズへのあらゆるご質問にお答えするワンストップ・ポータルです。


ドキュメント

データシート 2

信頼性データ 1

技術記事 1

さらに詳しく
myAnalogに追加

myAnalogのリソース・セクション、既存/新規プロジェクトにメディアを追加する。

新規プロジェクトを作成

評価用キット

DS9092K

iButtonスタータキット

機能と利点

  • Starter Kit to help evaluate iButton technology using a Microsoft Windows-based PC
  • Easy Setup with USB adapter
  • Free download of 1-Wire drivers and OneWireViewer Demonstration Software

製品詳細

DS9092K
iButtonスタータキット

最新のディスカッション

DS9092GTに関するディスカッションはまだありません。意見を投稿しますか?

EngineerZone®でディスカッションを始める

最近表示した製品