ADG5213

新規設計に推奨

アナログ・スイッチ、クワッドSPST、高電圧、耐ラッチアップ機能付

利用上の注意

本データシートの英語以外の言語への翻訳はユーザの便宜のために提供されるものであり、リビジョンが古い場合があります。最新の内容については、必ず最新の英語版をご参照ください。

なお、日本語版のデータシートは基本的に「Rev.0」(リビジョン0)で作成されています。そのため、英語版が後に改訂され、複数製品のデータシートがひとつに統一された場合、同じ「Rev.0」の日本語版のデータシートが異なる製品のデータシートとして表示されることがあります。たとえば、「ADM3307E」の場合、日本語データシートをクリックすると「ADM3311E」が表示されます。これは、英語版のデータシートが複数の製品で共有できるように1本化され、「ADM3307E/ADM3310E/ADM3311E/ADM3312E/ADM3315E」(Rev.J)と改訂されたからで、決して誤ってリンクが張られているわけではありません。和文化されたデータシートを少しでも有効に活用していただくためにこのような方法をとっておりますので、ご了解ください。

アナログ・デバイセズ社は、提供する情報が正確で信頼できるものであることを期していますが、その情報の利用に関して、あるいはその利用によって生じる第三者の特許やその他の権利の侵害に関して一切の責任を負いません。また、アナログ・デバイセズ社の特許または特許の権利の使用を明示的または暗示的に許諾するものでもありません。仕様は予告なしに変更する場合があります。本紙記載の商標および登録商標は、各社の所有に属します。

Viewing:

製品情報

  • ラッチアップ防止 
  • オフ時のソース側容量: 3 pF 
  • オフ時のドレイン側容量:5 pF 
  • チャージ・インジェクション:0.07pC 
  • 低リーク電流:0.2nA(max)@85℃ 
  • 両電源動作:±9V~±22V
  • 単電源動作:9V~40V 
  • 絶対最大定格電源電圧:48V 
  • ±15V、±20V+12 Vおよび+36 Vで完全仕様規定 
  • アナログ信号範囲:VSS to VDD

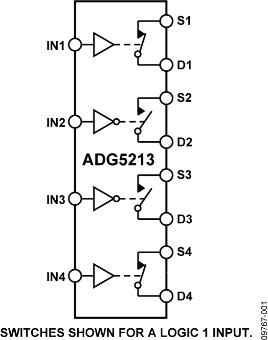
ADG5212/ADG5213は4個の独立したシングル・ポール/シングル・スロー(SPST)スイッチを内蔵しています。ADG5212スイッチはロジック1でターン・オンします。ADG5213はADG5212と同じデジタル制御ロジックを持つスイッチが2個と、制御ロジックが反転している2個のスイッチが内蔵されています。各スイッチはオンのとき、等しく両方向に導通し、各スイッチは電源電圧までの入力信号範囲を持っています。オフ状態では、電源電圧までの信号レベルを阻止します。

ADG5212とADG5213はVLピンを備えていません。デジタル入力は、動作電圧範囲全体にわたって3Vロジック入力に互換となっています。

これらのスイッチは、極めて小さい容量とチャージ・インジェクションを持つため、低グリッチと高速なセトリングを必要とするようなデータ・アクイジションとサンプル・アンド・ホールドのアプリケーションに最適なソリューションになっています。高速なスイッチング速度と広い信号帯域幅の組み合わせにより、この製品はビデオ信号のスイッチングにも適しています。

アプリケーション

  • 自動テスト装置(ATE)
  • データ・アクイジション
  • 計測機器
  • 航空電子機器
  • オーディオ信号やビデオ信号のスイッチング
  • 通信関連システム

製品のハイライト

  1. トレンチ・アイソレーションがラッチアップをガードします 誘電体トレンチがPチャンネルとNチャンネルのトランジスタを分離しているため、たとえ厳しいか電圧条件下でもラッチアップを防ぎます。
  2. 超低チャージ・インジェクション:1pC以下
  3. 両電源動作:
  4. アナログ信号がバイポーラのアプリケーションでは、ADG5212/ADG5213は両電源電圧から最大±22Vまで動作することが出来ます。
  5. 単電源動作:
  6. アナログ信号がユニポーラのアプリケーションでは、ADG5212/ADG5213は単電源のレールから最大40Vまで動作することが出来ます。
  7. 3Vロジック互換デジタル入力:
  8. VINH = 2.0 V, VINL = 0.8 V
  9. VL ロジック電源は不要

ADG5213
アナログ・スイッチ、クワッドSPST、高電圧、耐ラッチアップ機能付
ADG5213 Functional Block Diagram ADG5213 Pin Configuration
myAnalogに追加

myAnalogの製品セクション(通知受け取り)、既存/新規プロジェクトに製品を追加する。

新規プロジェクトを作成
質問する
サポート

アナログ・デバイセズのサポート・ページはアナログ・デバイセズへのあらゆるご質問にお答えするワンストップ・ポータルです。


ドキュメント

さらに詳しく
myAnalogに追加

myAnalogのリソース・セクション、既存/新規プロジェクトにメディアを追加する。

新規プロジェクトを作成

ソフトウェア・リソース

必要なソフトウェア/ドライバが見つかりませんか?

ドライバ/ソフトウェアをリクエスト

ツールおよびシミュレーション


評価用キット

eval board
EVAL-16LFCSP

スイッチおよびマルチプレクサ・ポートフォリオの16ピンLFCSPデバイスの評価用ボード

機能と利点

  • 16ピン、4mm × 4mm LFCSPの評価用ボード
  • メイン・デバイスのクラムシェル・ソケットを簡単に変更可能
  • ゴールド・ピン・コネクタによって受動部品を追加
  • 信号入出力用のSMBコネクタ
  • プロトタイピングに役立つオンボードの追加スペース

製品詳細

EVAL-16LFCSPEBZでは、別売のスイッチおよびマルチプレクサのポートフォリオの16ピン・リード・フレーム・チップ・スケール・パッケージ(LFCSP)デバイスを簡単に評価できます。EVAL-16LFCSPEBZにはクラムシェル・ソケットが付属しており、ハンダ処理なしで16ピンLFCSPデバイスを評価用ボードに固定できます。更に、各パターンに3セットのゴールド・ピン・コネクタがあるため、ボードの柔軟性と再利用性が高く、複数の評価に使用できます。

ユーザ・ガイドの図1は、EVAL-16LFCSPEBZを示しています。この評価用ボードの中央にあるソケットに16ピンLFCSPデバイスを挿入できます。デバイスの各ピンに、対応する3ピン・ヘッダ・リンク(K1~K16)があります。対応するリンクを取り外して外部信号源に接続することも、このリンクを使用してVDDまたはGNDを選択することもできます。ワイヤ・スクリュー端子J5は、VDDとGNDを供給します。EVAL-16LFCSPEBZのSubminiature Version B(SMB)コネクタによって、追加の外部信号をデバイスに供給できます。更に、EVAL-16LFCSPEBZの上面には、プロトタイピングに役立つパーフボード・スペースと2つの16ピンLFCSPパッド(3mm x 3mmと2.1mm x 2.1mm)があります。

テスト対象デバイス(DUT)のすべての仕様は、対応する製品のデータシートに記載されています。EVAL-16LFCSPEBZを使用する際は、EVAL-16LFCSPEBZのユーザ・ガイドと併せて製品データシートを参照してください。

eval board
EVAL-16TSSOP

スイッチ/マルチプレクサ・ポートフォリオの16ピンTSSOPデバイス評価用ボード

機能と利点

  • 16ピンTSSOP評価用ボード
  • クランプによってメイン・デバイスを簡単に変更可能
  • ゴールド・ピン・コネクタによって受動部品の追加が可能
  • 信号入出力用のSMBコネクタ
  • プロトタイピングを可能とする、オンボードの追加スペース

製品詳細

EVAL-16TSSOPEBZ評価用ボードは、別売のスイッチおよびマルチプレクサ・ポートフォリオの16ピンTSSOPデバイスを評価します。EVAL-16TSSOPEBZにはクランプが付属しており、ハンダ処理なしで16ピンTSSOPデバイスを評価用ボードに固定できるため、複数のデバイスでボードを再利用できます。

16ピンTSSOPデバイスは、評価用ボードの中央にクランプまたはハンダで取り付けることができます。デバイスの各ピンにはK1からK16まで対応するリンクがあり、VDDまたはGNDのいずれかに設定できます。ワイヤ・スクリュー端子は、VDDとGNDに電力を供給します。ボード上のSMBコネクタによって、追加の外部信号をデバイスに供給できます。また、ボードの上部にはプロトタイピングに利用できるスペースがあります。

テスト対象デバイス(DUT)のすべての仕様は、対応する製品のデータシートに記載されています。評価用ボードを使用する際は、このユーザー・ガイドと併せて参照してください。

EVAL-16LFCSP
スイッチおよびマルチプレクサ・ポートフォリオの16ピンLFCSPデバイスの評価用ボード
EVAL-16LFCSPEBZ Evaluation Board EVAL-16LFCSPEBZ Evaluation Board - Top View EVAL-16LFCSPEBZ Evaluation Board - Bottom View
EVAL-16TSSOP
スイッチ/マルチプレクサ・ポートフォリオの16ピンTSSOPデバイス評価用ボード
EVAL-16TSSOPEBZ Image

最新のディスカッション

最近表示した製品