PHY1075

PRE-RELEASE

125Mbps to 4.25Gbps Laser Driver/Postamp with Digital Diagnostics

Programmable 4.25G Laser Transceiver

Viewing:

Overview

  • Multirate from 125Mbps to 4.25Gbps
  • Laser Driver Output Stage with 70mA max Modulation Drive and 100mA Bias Current
  • Programmable Mean Power Control Loop
  • Temperature-Compensated Modulation Current
  • Integrated Limiting Amplifier with Selectable Swing CML Output
  • Programmable Receiver Lowpass Filter
  • Integrated LOS Function
  • Digital-Diagnostic Mode Compliant with SFF-8472 Using an External MCU
  • Stand-Alone Mode Where Device Parameters are Loaded from an External EEPROM
  • -40°C to +95°C Ambient Operating Temperature Range
  • 6mm x 6mm, 36-Pin QFN Package
  • Eye Safety Logic

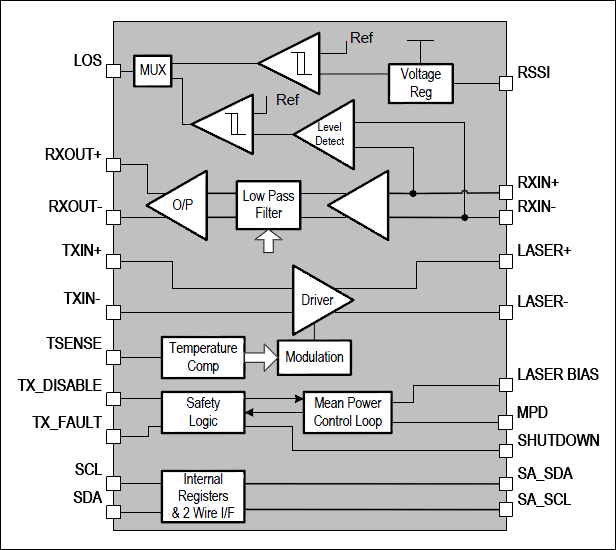
The PHY1075-01 is a combined laser driver and limiting amplifier with support for digital-diagnostic monitoring for use within small form factor modules for Fibre Channel, GbE, and SONET/SDH applications. The transmitter integrates a high-speed output stage with programmable bias and modulation currents, controlled through a 2-wire serial interface. The mean power control loop allows connection in common anode configuration. A loss-of-signal (LOS) detector is included with detection based on either the receiver photo-detector average current or received-signal modulation amplitude. When used in digital-diagnostics mode, the integrated A/D converters measuring temperature, Tx bias, supply voltage, Rx signal strength, and mean power are read through a 2-wire serial interface. An external microcontroller unit (MCU) is used for calibrating real-time diagnostic monitors and alarm generation.

Applications

  • Fibre Channel 1x, 2x, 4x
  • Gigabit Ethernet, SONET/SDH
  • OC-3, OC-12, OC-48

PHY1075
125Mbps to 4.25Gbps Laser Driver/Postamp with Digital Diagnostics
PHY1075: Outline Block Diagram
Add to myAnalog

Add product to the Products section of myAnalog (to receive notifications), to an existing project or to a new project.

Create New Project
Ask a Question

Documentation

Learn More
Add to myAnalog

Add media to the Resources section of myAnalog, to an existing project or to a new project.

Create New Project

Latest Discussions

No discussions on PHY1075 yet. Have something to say?

Start a Discussion on EngineerZone®

Recently Viewed