PHY1070

Obsolete

VCSEL Driver/Postamplifier with Digital Diagnostics

Programmable 4G VCSEL Transceiver

Viewing:

Overview

  • Multirate from 1Gbps to 4.25Gbps
  • VCSEL Driver Output Stage with 16mA max Modulation Drive and 20mA Bias Current
  • Programmable Mean Power Control Loop
  • Temperature-Compensated Modulation Current
  • Integrated Limiting Amplifier with Selectable Swing CML Output to Reduce Radiated Emissions
  • Programmable Receiver Lowpass Filter
  • Integrated LOS Function
  • Digital-Diagnostic Mode Compliant with SFF-8472 Using an External MCU
  • Stand-Alone Mode Where Device Parameters are Loaded from an External EEPROM
  • -40°C to +85°C Operating Temperature Range
  • 6mm x 6mm, 36-Pin QFN Package
  • Eye Safety Logic Certified by TUV

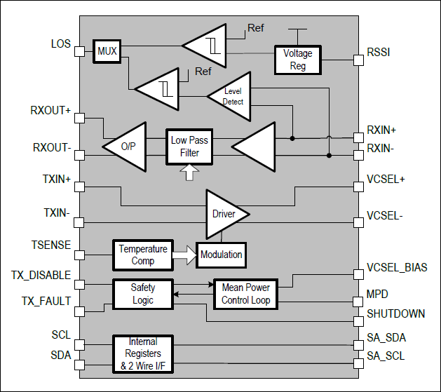
The PHY1070-01 is a combined VCSEL driver and limiting amplifier with support for digital diagnostic monitoring for use within small form factor modules for Fibre Channel applications. The transmitter integrates a high-speed output stage with programmable bias and modulation currents, controlled through a 2-wire serial interface. The mean power control loop allows connection in both common cathode and common anode configurations. A loss-of-signal (LOS) detector is included with detection based on either the receiver photo-detector average current or received-signal modulation amplitude. When used in digital diagnostics mode, the integrated A/D converters measuring temperature, Tx bias, supply voltage, Rx signal strength, and mean power are read through a 2-wire serial interface. An external microcontroller unit (MCU) is used for calibrating real-time diagnostic monitors and alarm generation.

Applications

  • Fibre Channel 1x, 2x, 4x
  • SFF and SFP Modules

PHY1070
VCSEL Driver/Postamplifier with Digital Diagnostics
PHY1070: Outline Block Diagram
Add to myAnalog

Add product to the Products section of myAnalog (to receive notifications), to an existing project or to a new project.

Create New Project
Ask a Question

Documentation

Learn More
Add to myAnalog

Add media to the Resources section of myAnalog, to an existing project or to a new project.

Create New Project

Latest Discussions

No discussions on PHY1070 yet. Have something to say?

Start a Discussion on EngineerZone®

Recently Viewed