利用MAX4928切换DisplayPort热插拔检测信号
Abstract
MAX4928A/B为DisplayPort™开关,主要用于PCIe®和DisplayPort之间的信号切换。来自DisplayPort监视器或DisplayPort显示屏的热插拔检测(HPD)信号与控制集线器以及MAX4928开关的电平并不兼容。本应用笔记介绍了当前绝大多数DisplayPort开关都不应超越的电压上限,而利用简单的电阻分压器并不能在各种应用中得到适当的逻辑电平。本文介绍了一种简单方案,通过添加一个数字晶体管实现LV-TTL至大约1V逻辑的电平转换。
引言
来自DisplayPort1监视器的热插拔检测(HPD)信号为LV-TTL信号。输入低电平为VIL ≤ 0.8V,输入高电平为2.4V ≤ VIH ≤ 3.6V。而这样的电平幅度不能满足绝大多数需要控制的DisplayPort器件,有些应用需要电平转换设计方案。
利用数字晶体管实现逻辑电平转换
MAX4928A/B DisplayPort开关通常用于PCIe与DisplayPort信号源之间的切换。多数这类开关都有不能超越的电压上限,对于该器件,
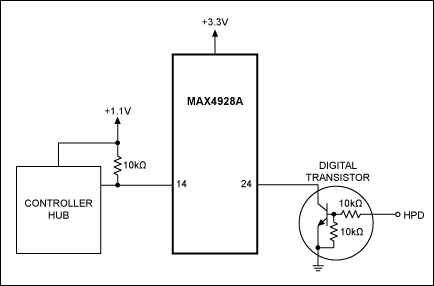
一种简单的解决方法是添加一个数字晶体管,有些器件可以提供几种不同类型的封装,内部集成了两个电阻和一个晶体管。图1所示电路采用一个数字晶体管构成了LV-TTL至大约1V逻辑之间的电平转换器。

图1. MAX4928 DisplayPort开关与热插拔检测信号之间的数字晶体管用于实现LV-TTL至大约1V逻辑的电平转换
图1中的数字晶体管输入为LV-TTL逻辑电平。由于上拉电阻拉至同一电源,晶体管的逻辑电平兼容于控制集线器。数字晶体管采用2.0mm x 2.0mm或更小尺寸的封装,有几家不同的半导体厂商供货。值得注意的是,该设计中逻辑电平被反相,由逻辑低电平触发热插拔事件。
MAX4928还可用于DisplayPort与控制集线器或MXM2 (移动PCI Express®)模块之间的信号切换。MAX4928的HPD端口逻辑兼容于DisplayPort端口。但如果不借助辅助电路,HPD不能通过切换开关后同时满足控制集线器和MXM模块的电平要求。由此,同样可以使用数字晶体管解决这个问题,一些厂商提供同一封装内集成两个晶体管的器件,图2给出了完整的电路图。

图2. MAX4928支持DisplayPort端口与控制集线器或MXM模块之间的切换
利用两个数字晶体管,第1个晶体管对逻辑电平反相并降低电平幅度;第2个晶体管再次对逻辑电平反相,将电平幅度变换到1.1V逻辑兼容电平。第3个数字晶体管用于MXM模块电平转换,功能相同,但把电平上拉至3.3V,兼容于MXM模块。后者逻辑是当HPD为高电平时触发,满足MXM模块的要求。用户只需确认该逻辑电平能够由控制集线器软件识别。
结论
对于HPD信号,数字晶体管非常有用。来自DisplayPort监视器或DisplayPort显示板的HPD信号与控制集线器或MAX4928开关的逻辑电平不兼容。在开关之前使用一个数字晶体管以及在开关之后使用一个双数字晶体管,可以提供控制集线器和MXM模块所需要的电平。该设计方案的占用空间很小、成本极低。
参考电路
1 DisplayPort是VESA的一项标准,用于LCD显示板和各种显示器与计算机的连接。
2 MXM是用于笔记本电脑的内置图形模块。