Design Note 33: Powering 3.3V Digital Systems
The new generation of high density digital devices requiring 3.3V power supplies impose some unique constraints on power supply designers. In nearly all cases the computers using these devices already have a 5V system supply. Deriving the 3.3V supply from the existing 5V rail permits system upgrades with a simple on-card solution. In many cases the 5V rail is the only supply available, mandating this approach. The first decision to be made is whether to use a switching regulator or a linear regulator? Switchers have a clear efficiency advantage when there is a large difference between the input and output voltage, but that advantage diminishes as the input voltage approaches the output voltage.
Simple calculations show that the efficiency of a switcher is marginally better in this application. Assuming a nominal input voltage of 5.0V and an output voltage of 3.3V, the efficiency of a linear regulator, (LT1083 type Figure 1A), independent of output current, is simply 3.3V/5.0V = 66%. For a switcher (Figure 1B) the efficiency is tougher to calculate. With only 5V available a PNP switch must be used, a MOSFET is not practical due to its gate drive requirements. The average inductor current will be equal to the load current. The duty cycle is determined by:
DC = (VOUT + VD)/(VIN – VSAT – VD)
where VOUT = 3.3V, VIN = 5.0V, VSAT = VCE sat. of QS,
VD = forward voltage of D1.

Assuming VCE sat. of QS to be 0.6V at a forced Beta of 10 and the forward voltage of D1 to be 0.6V, (using a Schottky diode; a silicon diode would be closer to 1V at rated current), the formula indicates an 80% duty cycle. Significant power losses are listed below.
Switch Saturation Voltage (0.6V)(1.0A)(80%) = 0.48W
Switch Base Current (5.0V)(0.1A)(80%) = 0.40W
Diode Forward Voltage (0.6V)(1.0A)(20%) = 0.12W
Inductor Voltage (0.1V)(1.0A)(100%) = 0.10W
Switching Transients ≈0.10W
RSENSE Voltage (0.1V)(1.0A)(80%) = 0.08W
P.W.M. Circuit (5.0V)(0.02A)(100%) = 0.10W
1.38W
The efficiency is Power Out/Power In = 3.3W/(1.38W + 3.3W) ≈ 70%. This says that the switcher could be more efficient, but by a small margin (4%). Other considerations, such as noise filtering, further decrease the switchers efficiency. In addition, circuit design becomes complex. For example, short circuit sensing in the emitter lead of QS might require generating another supply greater than 5V to power the sense amplifier. Also, some form of adaptive base drive is needed to maintain efficiency at light loads. When the small efficiency gain of a switcher is balanced against the advantages of a linear regulator (superior transient response, low noise, and ease of design) it becomes clear that the linear regulator is the best choice in this application.
Regulator Design
Figure 1A shows a basic linear regulator circuit utilizing an LT1083 adjustable low dropout regulator. These deices, specified for dropout voltage at several points over their operating current range, are ideal for this application. Nominal tolerance on the 5V rail in most systems is ±5% (4.75V to 5.25V). If the regulator dropout voltage is at the upper extreme of its specification (1.5V at maximum current and temperature for LT1083 family) it would still be able to supply 3.25V to the memory devices when the 5V rail is at the low end of its specification (4.75V). This is well within the allowable digital supply voltage range of 3.3V ±10% (3.0V-3.6V).
LT1083 family behavior in dropout is benign. Once the device enters dropout the output simply follows the input. There is no increase in quiescent current during dropout as is common in PNP type regulators. The basic regulator circuit shown in Figure 1A supplies currents up to 7.5A. The device has all the normal protection features associated with high current supplies, such as thermal and short circuit protection.
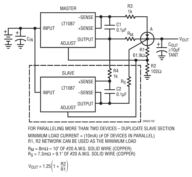
At currents greater than 7.5A several LT1087’s are used in parallel (Figure 2). The LT1087 is the newest member of the LT1083 family. The device is a version of the LT1084 with two additional sense pins and is available in a 5-pin TO-220 package. When tied together the sense pins are used to Kelvin sense the output voltage. When used separately they form the inputs to a differential amplifier whose output changes the devices 1.2V reference voltage.

In Figure 2 the master LT1087’s sense pins are tied together and connected to point A. This device senses and controls the output voltage using the Kelvin sense feature. R3 and C1 filter the voltage fed back to the sense pins. At low frequencies the output pin voltage of the master LT1087 is forced positive by the internal loop to maintain point A at the desired 3.3V value. This voltage is set by the ratio of R2/R1 according to the formula in Figure 2. The voltage across RM is proportional to the load current.
The slave unit operates differently. This device senses the voltage across RM and adjusts the voltage across RS to be equal, effectively forcing this device to output a current equal to the master unit. The differential gain from the sense pins to the output is low (11), so to make the devices share current equally, RM and RS need to be scaled RM/RS = 1.0/0.9. R4 and C2 filter the feedback to the slave unit. The minimum load current for the total circuit is 10mA per device. R1 and R2 can be scaled to guarantee that the minimum load current spec will be met, and minimizes the output voltage error due to the adjust pin currents (50μA per device). The 10μF output capacitor is the minimum value needed to ensure stability. Larger output capacitors will improve transient response. RM and RS are chosen so that the voltage drop across them, at full load current (5A per device) is 40mV. This value is chosen to be large enough to ensure proper current sharing without significantly degrading dropout voltage. As noted in Figure 2, RM and RS will be in the 7mΩ-8mΩ range. These values are small enough to be made from either short lengths of wire or from carefully laid out PC traces. The absolute value of these resistors is not critical, but the ratio of RM:RS should be maintained.
The circuit as shown will source 10A. This capability can be increased, in increments of 5A, by duplicating the slave unit and properly sizing R1 and R2 to sink the additional 10mA per device. COUT’s value may require adjustment upwards to maintain optimum transient response.
Circuits using up to five units have been tested, but there is no limit to the number of slave units, other than limits on space. These regulators offer a simple solution to powering 3.3V digital devices with almost no efficiency compromise. Low cost, space savings, and easy design make them attractive for this application.
