MAX22005 Configurable Analog Input Enables Flexible Industrial Control Systems
要約
This application note provides information to help system engineers develop extremely precise, highly configurable, multi-channel industrial analog input front-ends by utilizing the MAX22005.
Introduction
Flexibility and fast adaptation to new conditions is one of the most important features for successfully running a business. This expression is true for industrial and manufacturing types of businesses from food processing and textile producers to automakers and train manufacturers.
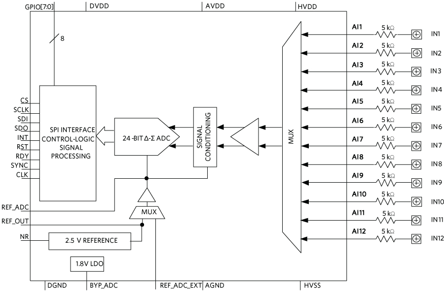
The MAX22005 is a multi-channel, industrial analog input device that combines the analog front-end (AFE) with high-voltage protection and the measuring element. The MAX22005 can be configured as twelve single-ended or six differential input channels, allowing up to 26 different configurations, and will work with any type of sensor, either voltage or current. The MAX22005 features a high-performance, 24-bit delta-sigma analog-to-digital converter (ADC) shared between all channels, as seen in Figure 1.
Figure 1. MAX22005 functional block diagram.
This application note provides practical examples that take advantage of the MAX22005's highly flexible configurations for multi-channel industrial inputs typically found in applications, such as programmable logic controllers (PLC), programmable automation controllers (PAC), or distributed control system (DCS).
MAX22005 Input Triplet
The MAX22005's 12 input channels can be configured as 12 single-ended inputs or 6 differential pairs. In addition, the MAX22005 provides a unique combination of three contiguous inputs being combined into a triplet for even greater flexibility. The MAX22005 can support a total of four highly flexible triplets, using combinations of AI1–AI3, AI4–AI6, AI7–AI9, and AI10–AI12. The triplets accept industrial signal levels from 0V to ±12.5V for single-ended analog input voltage mode (AIVM), and ±25V for differential AIVM.
With an external sense resistor RSENSE (typically in range from 50? to 250?), the MAX22005 accepts 0mA to ±25mA for single-ended and ±25mA for differential analog input current mode (AICM) to convert current inputs into voltage inputs. There are a total of 26 possible configurations available for the entire chip. Figure 2 shows triplets position in the MAX22005. There are a variety of possible configurations of the input ports, including the AI1-AI3 triplet.
Figure 2. MAX22005 input port triplets
Single-ended Input Configuration
Single-ended input configuration allows a maximum of twelve input ports to be used. The MAX22005 features a high impedance input of >1G? that allows a single-ended configuration to work for both AIVM and AICM modes without affecting measurement accuracy. Single-ended configuration is shown in Figure 3.
Figure 3. Single-ended input configuration.
Differential Input Configuration
Differential inputs allow precise measurements while ignoring voltage drop on the wires or common-mode voltages, trading off for a reduced number of input channels. The MAX22005 allows common-mode ranges from 0V up to ±10V. The total number of differential inputs is up to six or eight in multifunctional (aka triplet) configuration. Differential inputs are used for both AIVM and AICM modes. Examples of differential input connections are shown in Figure 4. The voltage output sensor in Figure 4a can be connected between either IN1 and IN2 or between IN1 and IN3 ports.
Connection with two differential voltage output sensors and the single common voltage, VCOM, is shown in Figure 4b. Connection with two differential voltage output sensors with different common voltages is shown in Figure 4c. Note that the sign of the computed voltages in Figure 4b is reversed.
Figure 4a, b, c. MAX22005 AIVM mode differential connections.
The examples in Figure 4 allow either fixed AIVM or AICM mode configuration, which limit system design flexibility. The MAX22005 also allows multi-functional configuration to address this issue.
Multifunctional Input Configuration Using Triplets
Multifunctional configuration allows the system to select between AIVM and AICM modes using software. This is done through SPI commands and by GPIO control of an external general purpose analog switch, such as MAX14757. This means any voltage output or current output sensor can be connected to the same input port of the PLC or PAC without rewiring and can use predeveloped firmware to work with those sensors. Figure 5 displays an example of a current output sensor connected to the MAX22005. Figure 6 shows a voltage output sensor connected to the IN1 and IN3 input ports.
Figure 5. MAX22005 connection with the current output sensor in multifunctional configuration.
Figure 6. MAX22005 connection with the voltage output sensor in multi-functional configuration.
In Figure 5, the input current flows from the sensor through the RSENSE resistor and SW1 switch to ground. It is measured differentially between AI1 and AI2. The on resistance (RON) of the analog switch (SW1) is not significant, since it is not included in the voltage drop measured across RSENSE. However, it is recommended to use a low-leakage switch, like the MAX14757 or MAX14760, for this application.
In addition to the current measurement, the system can determine the voltage and power consumption information from AI1–AI3 differential measurement. It is possible to use a low-cost n-MOSFET as a switch, such as the 2N7002NXAK from Nexperia®. An additional transient voltage suppressor (TVS) on the input terminal may be required to protect both the switch and the sense resistor.
In Figure 6, the SW1 switch is off, and the MAX22005 measures voltage information though AI1–AI3 differential measurement.
Figure 7 shows an additional possibility to assist two different types of sensors. In this example, the current output sensor is connected between IN1 and ground, while the voltage output sensor can be connected between IN3 and ground. The current is measured through AI1–AI2 differential inputs, and voltage is measured through AI3 single-ended input.
Figure 7. MAX22005 triplet connection with voltage and current sensors.
Temperature Measurement Utilizing the MAX22005 and RTD
Figure 8 demonstrates a practical implementation of temperature measurement using a resistive temperature detector (RTD) that utilizes one triplet of the MAX22005. In this example, the RTD's excitation current is generated by a current source implemented using a MAX44250 operational amplifier and a 2.49k? precision resistor.
Figure 8. MAX22005 temperature measurement using RTD.
The MAX22005's internal voltage reference, REF_OUT, provides a 2.5V buffered output that is maintained over the 2.49k? resistor to create a 1mA current through the RTD and the 2.49k? resistor. Up to four RTDs can be connected to the MAX22005, utilizing the MAX44252 quad operational amplifier.
RTD resistance can be computed by equation 1, and temperature can be determined by solving the Callendar-Van Dusen equation in equation 2.

Where:
VAI1-AI2 is differential voltage measured between AI1 and AI2 inputs.
VAI1-AI3 is differential voltage measured between AI1 and AI3 inputs, representing voltage drop on the RTD wires.
VAI3 is a single-ended voltage drop on a 2.49k? resistor.
R(T) = R0(1 + A × T + B × T2 − 100 × C × T3 + C × T4)
Where:
R(T) = RTD resistance at temperature T (°C)
R0 = RTD resistance at 0°C
A, B and C constants are derived from experimentally determined parameters and regulated by the IEC751 standard. They also must be provided by RTD manufacturers.
For Pt100 RTD and temperature coefficient of resistance, a = 0.003850 where:

A = 3.90830 × 10(−3)B = −5.77500 × 10(−7)
C = −4.18301 × 10−12 for −200°C = T = 0°C
C = 0 for 0°C = T = +850°C
The results are verified with the MAX22005 EV kit, MAX44250 EV kit, and the Fluke® 724 temperature calibrator for Pt100 RTD simulation and are shown in Table 1.
| Set Temperature (°C) |
Computed Rth Resistance (?) |
Computed Temperature (°C) |
Absolute Error (°C) |
| 800 | 375.74 | 800.12 | 0.12 |
| 600 | 313.84 | 600.41 | 0.41 |
| 400 | 247.20 | 400.31 | 0.31 |
| 200 | 175.93 | 200.20 | 0.20 |
| 100 | 138.63 | 100.33 | 0.33 |
| 50 | 119.52 | 50.32 | 0.32 |
| 0 | 100.18 | 0.46 | 0.46 |
| −50 | 80.46 | −49.61 | 0.39 |
| −100 | 60.41 | −99.62 | 0.38 |
| −200 | 18.69 | −199.61 | 0.39 |
Complete Implementation of the MAX22005
Figure 9 demonstrates implementations of the MAX22005 for industrial control systems, such as PLC, DSC, or PAC. It illustrates a variety of ways the MAX 22005 is able to support the following combinations, along with many other current sensors, voltage sensors, and RTDs:
- Four current sensors with either two or three wires
- Four voltage sensors with either two or three wires
- Multiple combinations of the above scenarios. For example:
- three current sensors + one voltage sensor
- two current sensors + two voltage sensors
- one current sensor + three voltage sensors
- Four RTDs
- Two thermocouples (TC) on AI5/AI6 (AI11/AI12) with two RTDs on the AI1, AI2, AI3 and AI7, AI8, AI9 to measure cold-junction temperature
Figure 9. Complete utilization of the MAX22005 in industrial control systems.
Conclusion
Connection schemes between industrial grade sensors and the MAX22005 multi-channel analog input allow for building precise and cost-effective system solutions. The MAX22005 allows system engineers to develop highly configurable and flexible industrial control systems to meet the challenges of the twenty-first century.