MAX4928を使用したDisplayPortのホットプラグ検出信号をスイッチする方法
要約
MAX4928A/BはDisplayPort™のスイッチであり、通常はPCIe®とDisplayPortのソース間で信号を切り替えるために使用されます。DisplayPortのモニタまたはDisplayPortのパネルから来るHPD (ホットプラグ検出)信号はコントローラハブまたはMAX4928スイッチのいずれにも対応可能ではありません。このアプリケーションノートでは、ほとんどのDisplayPortのスイッチには超えてはならない最大電圧レベルがあり、すべてのアプリケーションに対しては単純な抵抗分圧器はロジックレベルに適合するために使用可能ではないことを説明します。このアプリケーションノートではディジタルトランジスタを追加してLV-TTLから約1Vのロジックへのロジックレベルシフトを行う簡単なソリューションを紹介します。
はじめに
DisplayPort¹モニタ(すなわちsink)から利用可能なHPD (ホットプラグ検出)信号はLV-TTLレベルの信号です。入力のローはVIL ≤ 0.8V、入力のハイは2.4V ≤ VIH ≤ 3.6Vです。しかし、これらのレベルはDisplayPortがコントロールを必要とする多くのデバイスには適合しません。アプリケーションによってはロジックレベルをシフトする設計ソリューションを必要とします。
ロジックレベルシフタとしてディジタルトランジスタを使用
DisplayPortスイッチのMAX4928A/Bは、通常はPCIeとDisplayPortのソース間で信号を切り替えるために使用されます。このカテゴリのほとんどのスイッチには超えてはならない電圧レベルの最大値があります。このケースではそれは
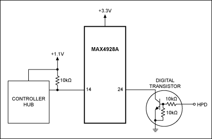
簡単なソリューションはディジタルトランジスタを追加することです。2つの抵抗と1つのトランジスタを含む幾つかのパッケージが入手可能です。図1はLV-TTLから約1Vロジックのロジックレベルシフタの働きをするディジタルトランジスタの使用を示しています。

図1. DisplayPortスイッチのMAX4928とホットプラグ検出信号間のLV-TTLから約1Vロジックへのロジックレベルシフタとして働くディジタルトランジスタ。
図1ではディジタルトランジスタがLV-TTLロジックを入力しています。このトランジスタは、また、コントローラハブとロジックレベル互換です。これはそれが同じ電源に対するプルアップ抵抗を備えているからです。ディジタルトランジスタは幾つかのディスクリート半導体メーカーから2.0mm x 2.0mmまたはそれより小さいパッケージで入手可能です。この設計ではロジックが反転する、つまりロジックレベルのローがホットプラグイベントをアサートするということを覚えておくことが重要です。
MAX4928は、また、DisplayPortのポートをコントローラハブとMXM² (Mobile PCI Express®)モジュールの間で切り替えるために使用することができます。MAX4928のHPDポートはDisplayPortのポートとロジックレベル互換です。これは意味があるように思えますが、ある種の対応策なしには、HPDはこのスイッチを通りコントローラハブとMXMモジュールの両方に対応可能のままであることはできません。この場合も、ディジタルトランジスタが問題を解決し、幸いなことに、1つのパッケージ内で2つの完全なデバイスとしてご利用いただけます。図2は完全な回路図を示しています。

図2. MAX4928は、DisplayPortのポートをコントローラハブとMXMモジュールのいずれかに切り替えるために使用されます。
デュアルのディジタルトランジスタの場合は、最初の1つはロジックレベを反転してそのレベルを下げ、2つ目のデバイスは再びロジックを反転しますが、そのロジックレベルを1.1Vに対応可能にします。3番目のディジタルトランジスタはMXMモジュールに対して同じ機能を果しますが、それはMXMに対応するために3.3Vにプルアップされます。この後者のケースでは、HPDがハイの場合にロジックはハイにアサートされてMXMモジュールに適合します。ユーザーがしなければならないことは、コントローラハブにおいてこれがソフトウェアで期待されるロジックであるかどうかを確認する必要があることのみです。
結論
ディジタルトランジスタはHPD信号を使用する場合に非常に有用です。DisplayPortのモニタまたはDisplayPortのパネルからくるHPD信号はコントローラハブまたはスイッチのMAX4928に対応可能ではありません。スイッチの前段に1つのディジタルトランジスタ、スイッチの後段にデュアルのディジタルトランジスタを使用して、回路はコントローラハブおよびMXMモジュールとロジックレベル互換になり、しかも非常に少ない部品しか使用しません。この設計では、占有するスペースはごくわずかで非常に低コストです。
リファレンス
- DisplayPortはLCDパネルおよびさまざまなモニタをコンピュータに接続するためのVESAの規格です。
- MXMはアドインのラップトップPCのグラフィックモジュールです。
参考資料
1 DisplayPort is a standard under VESA for connecting LCD panels and various monitors to a computer.
2 MXM is an add-in graphics module for laptop PCs.