Two engineers working in the lab

Save time and deliver your solutions faster with ADI’s new suite of precision technology signal chains. Align your applications ranging from Smart Industry to Instrumentation, Electrification to Digital Health, to exactly the right precision technology combinations.

Tailor your signal chain with confidence

MAX9679

製造中止

12-Channel, 10-Bit Programmable Gamma and VCOM Reference Voltages

Industry's Most Accurate Gamma Curve Reference System

利用上の注意

本データシートの英語以外の言語への翻訳はユーザの便宜のために提供されるものであり、リビジョンが古い場合があります。最新の内容については、必ず最新の英語版をご参照ください。

なお、日本語版のデータシートは基本的に「Rev.0」(リビジョン0)で作成されています。そのため、英語版が後に改訂され、複数製品のデータシートがひとつに統一された場合、同じ「Rev.0」の日本語版のデータシートが異なる製品のデータシートとして表示されることがあります。たとえば、「ADM3307E」の場合、日本語データシートをクリックすると「ADM3311E」が表示されます。これは、英語版のデータシートが複数の製品で共有できるように1本化され、「ADM3307E/ADM3310E/ADM3311E/ADM3312E/ADM3315E」(Rev.J)と改訂されたからで、決して誤ってリンクが張られているわけではありません。和文化されたデータシートを少しでも有効に活用していただくためにこのような方法をとっておりますので、ご了解ください。

アナログ・デバイセズ社は、提供する情報が正確で信頼できるものであることを期していますが、その情報の利用に関して、あるいはその利用によって生じる第三者の特許やその他の権利の侵害に関して一切の責任を負いません。また、アナログ・デバイセズ社の特許または特許の権利の使用を明示的または暗示的に許諾するものでもありません。仕様は予告なしに変更する場合があります。本紙記載の商標および登録商標は、各社の所有に属します。

Viewing:

製品情報

  • 12 Channels of Programmable Gamma Voltages with 10-Bit Resolution
  • Programmable VCOM Voltage with 10-Bit Resolution
  • Programmable Reference for DACs
  • Multiple-Time Programmable Memory to Store Gamma and VCOM Codes
  • Switching Between Two Gamma Curves and VCOM Voltages
  • AVDD1, AVDD2, and AVDD_AMP Supplies to Reduce Heat
  • I²C Interface (1MHz Fast-Mode Plus)

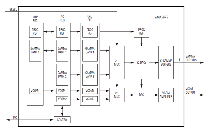
The MAX9679 provides multiple programmable reference voltages for gamma correction in TFT LCDs and a programmable reference voltage for VCOM adjustment. All gamma and VCOM reference voltages have a 10-bit digital-to-analog converter (DAC) and high-current buffer, which reduces the recovery time of the output voltages when critical levels and patterns are displayed. A programmable internal reference sets the full-scale voltage of the DACs.

Two independent sets of gamma curves and VCOM codes can be stored in the IC's volatile memory; BKSEL signal selects between the two sets.

The IC has multiple-time programmable (MTP) memory to store gamma and VCOM codes on the chip, eliminating the need for external EEPROM.

Applications

  • TFT LCDs

MAX9679
12-Channel, 10-Bit Programmable Gamma and VCOM Reference Voltages
MAX9679: Simplified Block Diagram
myAnalogに追加

myAnalogの製品セクション(通知受け取り)、既存/新規プロジェクトに製品を追加する。

新規プロジェクトを作成
質問する
サポート

アナログ・デバイセズのサポート・ページはアナログ・デバイセズへのあらゆるご質問にお答えするワンストップ・ポータルです。


ドキュメント

さらに詳しく
myAnalogに追加

myAnalogのリソース・セクション、既存/新規プロジェクトにメディアを追加する。

新規プロジェクトを作成

最新のディスカッション

MAX9679に関するディスカッションはまだありません。意見を投稿しますか?

EngineerZone®でディスカッションを始める

最近表示した製品