ADG792G

製造中止

4:1 マルチプレクサ、トリプル、I2C 互換、広帯域幅、I2C インターフェースを介して制御可能な 2 チャンネル汎用ロジック出力付

利用上の注意

本データシートの英語以外の言語への翻訳はユーザの便宜のために提供されるものであり、リビジョンが古い場合があります。最新の内容については、必ず最新の英語版をご参照ください。

なお、日本語版のデータシートは基本的に「Rev.0」(リビジョン0)で作成されています。そのため、英語版が後に改訂され、複数製品のデータシートがひとつに統一された場合、同じ「Rev.0」の日本語版のデータシートが異なる製品のデータシートとして表示されることがあります。たとえば、「ADM3307E」の場合、日本語データシートをクリックすると「ADM3311E」が表示されます。これは、英語版のデータシートが複数の製品で共有できるように1本化され、「ADM3307E/ADM3310E/ADM3311E/ADM3312E/ADM3315E」(Rev.J)と改訂されたからで、決して誤ってリンクが張られているわけではありません。和文化されたデータシートを少しでも有効に活用していただくためにこのような方法をとっておりますので、ご了解ください。

アナログ・デバイセズ社は、提供する情報が正確で信頼できるものであることを期していますが、その情報の利用に関して、あるいはその利用によって生じる第三者の特許やその他の権利の侵害に関して一切の責任を負いません。また、アナログ・デバイセズ社の特許または特許の権利の使用を明示的または暗示的に許諾するものでもありません。仕様は予告なしに変更する場合があります。本紙記載の商標および登録商標は、各社の所有に属します。

Viewing:

製品情報

  • 帯域幅:190MHz
  • 低挿入損失およびオン抵抗:2.6Ω(typ)
  • オン抵抗平坦性:0.3Ω(typ)
  • 3V/5V単電源動作
  • 3.3Vのアナログ信号範囲(5V電源、75Ω負荷)
  • 低い静止電源電流:1nA(typ)
  • 高速スイッチング時間
    tON:185ns
    tOFF:181ns
  • I2C互換のインターフェース
  • 小型の24ピンLFCSPパッケージ
  • I2C制御可能な2チャンネルロジック出力

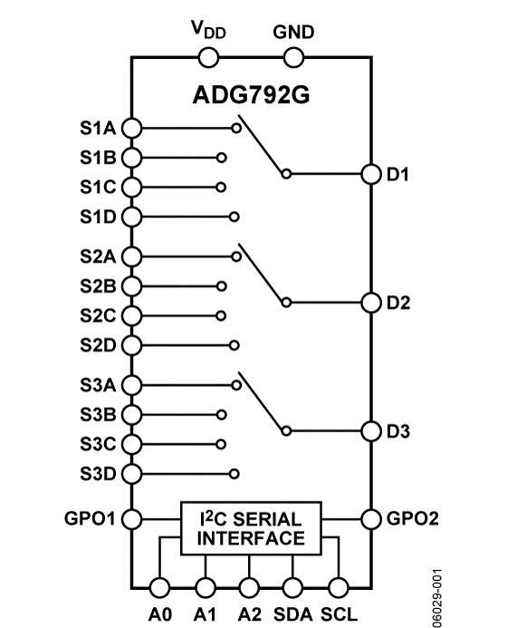
ADG792A/ADG792GはモノリシックCMOSデバイスで、標準のI2Cシリアル・インターフェースを通して制御できる3個の4:1マルチプレクサ/デマルチプレクサから構成されています。CMOSプロセスは超低消費電力を提供するとともに、高速スイッチングと低オン抵抗も提供します。

オン抵抗プロファイルはアナログ入力範囲全体で非常に平坦で、広帯域幅によって優れた直線性と低歪みを保証しています。さらに広い入力信号範囲という特性も兼ね備えているため、RGB/YPbPrビデオ・スイッチなど、広範なTVアプリケーション向けの理想的なスイッチング・ソリューションとなっています。

各スイッチは、オン時に双方向に等しく良好に導通します。オフ状態では、電源電圧までの信号レベルはブロックされます。ADG792A/ADG792Gスイッチは、ブレーク・ビフォア・メークのスイッチング動作を行います。ADG792Gは、I2Cインターフェースで制御できる2チャンエルの汎用ロジック出力ピンを備えています。このGPOピンでビデオ・フィルタなどのI2C非互換デバイスを制御することもできます。 集積されたI2Cインターフェースは、システム設計に対して高いフレキシビリティを提供します。ユーザーは3個のI2Cアドレス・ピンで、最大8個のデバイスが同じバス上で使用するように設定でき、スイッチング・アレイのサイズを大きくしてデバイスの機能を拡張できます。

ADG792A/ADG792Gは3V又は5V単電源で動作します。小型で鉛フリーの4mm×4mmボディ、24ピンLFCSPパッケージで提供されます。

アプリケーション

  • RGB/YPbPrビデオ・スイッチ
  • HDTV
  • プロジェクションTV
  • DVD-R/RW
  • AVレシーバ

ADG792G
4:1 マルチプレクサ、トリプル、I2C 互換、広帯域幅、I2C インターフェースを介して制御可能な 2 チャンネル汎用ロジック出力付
453034245ADG792G-fbl ADG792G-pc
myAnalogに追加

myAnalogの製品セクション(通知受け取り)、既存/新規プロジェクトに製品を追加する。

新規プロジェクトを作成
質問する
サポート

アナログ・デバイセズのサポート・ページはアナログ・デバイセズへのあらゆるご質問にお答えするワンストップ・ポータルです。


ドキュメント

さらに詳しく
myAnalogに追加

myAnalogのリソース・セクション、既存/新規プロジェクトにメディアを追加する。

新規プロジェクトを作成

ソフトウェア・リソース

デバイス・ドライバ 1

最新のディスカッション

最近表示した製品