Data Sheet
Rev.
0
1
View All
Overview
Features and Benefits
- On-Board Direct Digital Synthesis (Xilinx® Spartan®-3A FPGA)
- On-Board Waveform Memory (1M x 24-Bit SRAM)
- On-Board +4.096V Ultra-High-Precision Voltage Reference (MAX6126)
- SMA Connectors for Waveform Synchronization and DAC Output
- Proven High-Performance 16-Bit DAC PCB Layout
- Stand-Alone and GUI Operation Modes
- Eight Diagnostic LEDs
- Five Pushbuttons for Functionality Tests
- High-Speed SPI Interface
- High-Speed USB 2.0 USB-PC Connection (Cable Included)
- Windows XP-, Windows Vista-, and Windows 7-Compatible Software
- RoHS Compliant
- Fully Assembled and Tested
Product Details
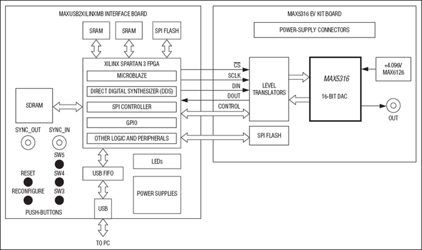
The MAX5316 evaluation kit (EV kit) provides a proven design to evaluate the MAX5316 16-bit high-accuracy voltage output DAC. The EV kit also includes Windows XP®-, Windows Vista®-, and Windows®7-compatible software that provides a simple graphical user interface (GUI) for exercising the features of the IC.
The MAX5316 evaluation system (EV system) consists of the EV kit and a companion MAXUSB2XILINXMB serial interface board. The MAXUSB2XILINXMB interface board allows a PC to control the SPI interface and GPIOs using its USB port. Order the EV system for a complete PC-based evaluation of the IC.
The EV system includes an on-board direct digital synthesizer (DDS) that generates precision waveforms (sine, triangle, rising ramp, falling ramp, square, and arbitrary). The DDS clock can be selected from 375kHz to 10kHz. Waveform amplitude and offset can be controlled by the DDS or the internal controls of the IC. Arbitrary waveforms are defined by a simple CSV file that can easily be created from Excel or many other software programs. A synchronization output is also provided to indicate when a new cycle starts. In addition, all waveforms can be synchronized to an external signal.
The EV kit comes with a 16-bit MAX5316GTG+ precision DAC installed.
Applications
- Automatic Calibration
- Automatic Test Equipment
- Communication Systems
- Data-Acquisition Systems
- Gain and Offset Adjustment
- Medical Equipment
- Process Control and Servo Loops
- Programmable Voltage and Current Sources
- Test and Measurement
Applicable Parts
Documentation & Resources
-
MAX5316EVSYS: Evaluation System for the MAX5316 Data Sheet (Rev. 0)4/17/2012PDF1M
