ChipDNA Embedded Security PUF Technology

You can’t steal a key that isn’t there

Sophisticated invasive attacks are frequently launched in an attempt to obtain cryptographic keys from secure ICs. If obtained, the security provided by the IC is thoroughly compromised. A key derived from a physically unclonable function (PUF) provides an unprecedented level of protection against invasive attacks, since the PUF-based key does not exist in memory or another static state.

ChipDNA PUF Security Overview

In our PUF-based ChipDNA secure authenticators, each key exists as a precise analog characteristic of the IC, making it immune to all known invasive attack tools and capabilities. Each IC’s unique ChipDNA-generated key, since it is based on a physical unclonable function, is repeatable over temperature, voltage, and IC operating life conditions.

ChipDNA PUF security technology provides an exponential increase in protection against the invasive and reverse engineering attacks that hackers apply. Attempts to probe or observe ChipDNA operation modifies the underlying circuit characteristics, preventing the discovery of the unique value used by the chip cryptographic functions. Similarly, more exhaustive reverse-engineering attempts are defeated due to the factory conditioning required to make the ChipDNA circuitry operational. The per-device unique key is generated by the ChipDNA circuitry only when needed for cryptographic operations and is then instantaneously deleted.

Most importantly, the ChipDNA secure key never resides statically in registers or memory, nor does it ever leave the electrical boundary of the IC. In addition to the protection benefits, ChipDNA simplifies or eliminates the need for secure IC key management. The ChipDNA-generated key can be used directly for functions such as:

  • Root key for derived key operations.
  • Symmetric secret to encrypt/decrypt data stored in the nonvolatile memory of the secure IC.
  • Private key for ECDSA signature generation.
  • Private key for ECDH key establishment.
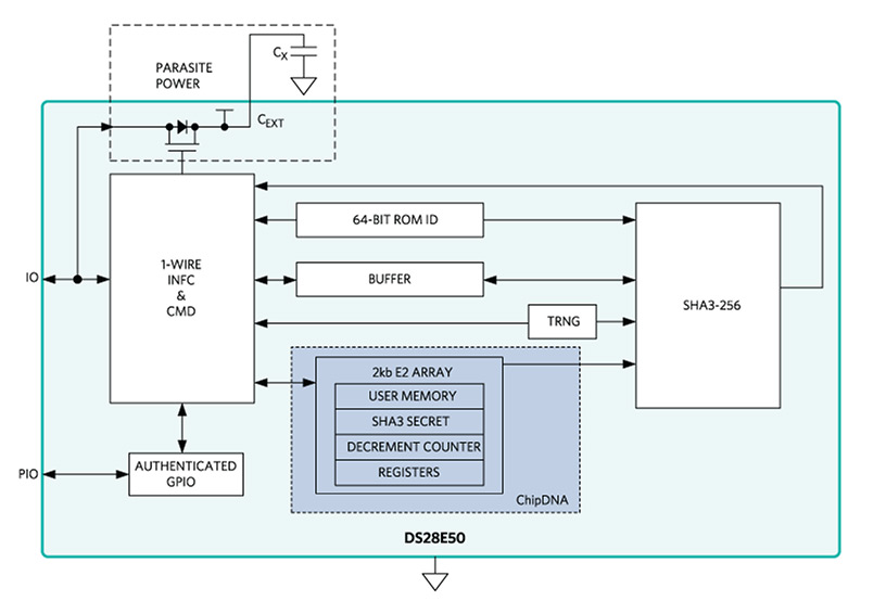
ChipDNA Block Diagram
Block diagram of a DeepCover® secure authenticator with ChipDNA PUF protection

 

How ChipDNA PUF Technology Delivers the Highest Level of IoT Security

Maximum Security: All Lock, No Key

ChipDNA provides unprecedented protection against cyberattacks by deriving a cryptographic key from a precise analog characteristic of the IC. This key is based on a physically unclonable function and is not stored in memory or any other static state where it could be compromised.

See how it works

ChipDNA Puf Technology

ChipDNA PUF Security Use Cases

Use case examples for ChipDNA embedded security PUF technology include internal memory encryption, external memory encryption, and authentication key generation.

Internal Memory Encryption

Internal Memory Encryption

External Memory Encryption

External Memory Encryption

Authentication Key Generation

Authentication Key Generation