摘要
MAX2640低成本,超低噪声放大器(LNA)的基本工作频率范围是400MHz至2500MHz。本器件也可以用于315MHz的无线车匙系统。测试表明,本器件在315MHz一般具有16dB的增益和1.3dB的噪声系数,使用2.7V至5V单电源供电,消耗电流仅3.5mA。
概述
MAX2640是为蜂窝、PCS、GPS和2.4GHz ISM频段的应用设计的低成本、超低噪声放大器。它使用2.7V至5.5V单电源供电,消耗电流一般仅为3.5mA。本器件采用6引脚SOT23封装,对于PCB空间非常珍贵的便携式设备来说是非常理想的选择。
MAX2640的基本工作频率范围是400MHz至2500MHz,也可以用于315MHz的无线车匙系统中。Analog最近测试了这款IC在扩展频率范围内的工作情况并得到了满意的结果。这里给出的数据证明了这款IC在315MHz能够很好的工作,典型的增益值约为16dB,噪声系数1.3dB。
目标
为在315MHz工作优化MAX2640评估板,通过统计抽样结果验证所选择的工作特性。
结果
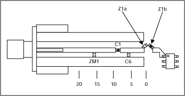
将标准评估板按图1所示的原理图进行修改。修改电路板需要将Z1a和Z1b都布置在Z1的焊盘上。元件放置的细节见图2。
图1.
图2.
测量关键的参数,其结果如表1所示(板“A”)。按相同的原理图修改第二块评估板(板“B”),得到相似的结果。图3所示为回波损耗和增益的曲线。
图3.
| Parameter | Measured | |
| (Board A) | (Board B) | |
| S11 (dB) | -9.2 | -10.0 |
| S21 (dB) | 17.2 | 16.5 |
| S12 (dB) | >50 | >50 |
| S22 (dB) | -13.1 | -13.4 |
| Supply Current (mA) | 3.6 | 3.3 |
| Input 1dB Compression Point (dBm) | -27 | -28 |
| Input IP3 (dBm) | -17.4 | -18.1 |
| Noise Figure (dB) | 1.8 | 1.7 |
经过初步的调谐测量后,对另外30个芯片的相同参数进行测量。得到的实际值和平均值数据分别如表2和表3所示。这些数据表明,只需对电路进行稍微的改动就能使这款芯片在315MHz很好的工作。
| Parameter | Icc(mA) | S11(dB) | S21(dB) | S12(dB) | S22(dB) | NF(dB) | IIP3(dBm) | P1dB(dBm) |
| IC#: | ||||||||
| 01 | 3.38 | -9.06 | 15.60 | -70.0 | -13.56 | 1.32 | -17.48 | -28.80 |
| 02 | 3.62 | -8.54 | 16.26 | -59.70 | -13.30 | 1.28 | -17.79 | -28.60 |
| 03 | 3.57 | -9.30 | 15.98 | -60.00 | -13.00 | 1.36 | -17.53 | -28.80 |
| 04 | 3.54 | -8.91 | 15.42 | -59.50 | -14.50 | 1.28 | -17.74 | -28.80 |
| 05 | 4.00 | -8.32 | 17.14 | -59.27 | -13.10 | 1.29 | -17.00 | -28.20 |
| 06 | 3.52 | -9.01 | 15.96 | -65.00 | -13.71 | 1.30 | -17.24 | -28.70 |
| 07 | 3.59 | -8.60 | 16.08 | -65.00 | -13.83 | 1.30 | -17.16 | -28.60 |
| 08 | 3.67 | -9.23 | 16.44 | -64.89 | -13.89 | 1.30 | -17.44 | -28.80 |
| 09 | 3.50 | -8.89 | 15.76 | -65.00 | -13.70 | 1.31 | -16.85 | -28.80 |
| 10 | 3.45 | -9.58 | 15.86 | -65.00 | -13.83 | 1.30 | -17.31 | -28.80 |
| 11 | 3.55 | -9.09 | 15.95 | -66.00 | -13.68 | 1.31 | -17.28 | -28.80 |
| 12 | 3.63 | -9.10 | 16.25 | -67.00 | -13.98 | 1.32 | -17.08 | -28.60 |
| 13 | 3.63 | -9.48 | 16.30 | -67.90 | -13.65 | 1.33 | -17.25 | -28.70 |
| 14 | 3.69 | -9.52 | 16.38 | -68.90 | -13.70 | 1.34 | -17.07 | -28.60 |
| 15 | 3.54 | -8.97 | 15.94 | -67.40 | -13.64 | 1.29 | -17.20 | -28.70 |
| 16 | 3.69 | -8.98 | 16.40 | -69.90 | -13.71 | 1.28 | -16.99 | -28.70 |
| 17 | 3.49 | -9.27 | 15.91 | -70.00 | -13.85 | 1.32 | -17.25 | -28.70 |
| 18 | 3.47 | -9.31 | 15.99 | -68.00 | -13.73 | 1.32 | -17.37 | -28.80 |
| 19 | 3.50 | -9.23 | 15.98 | -68.70 | -13.78 | 1.30 | -17.44 | -28.70 |
| 20 | 3.50 | -8.81 | 15.98 | -71.50 | -13.80 | 1.29 | -17.35 | -28.70 |
| 21 | 3.68 | -9.03 | 16.35 | -70.00 | -13.63 | 1.30 | -17.08 | -28.60 |
| 22 | 3.50 | -9.10 | 15.97 | -71.00 | -13.94 | 1.30 | -17.28 | -28.70 |
| 23 | 3.56 | -9.32 | 16.19 | -70.00 | -13.78 | 1.31 | -17.33 | -28.70 |
| 24 | 3.63 | -9.26 | 16.30 | -70.00 | -13.82 | 1.32 | -17.22 | -28.70 |
| 25 | 3.55 | -8.59 | 16.10 | -68.70 | -13.65 | 1.26 | -17.45 | -28.60 |
| 26 | 3.42 | -8.97 | 15.76 | -71.40 | -13.65 | 1.32 | -17.41 | -28.80 |
| 27 | 3.72 | -9.34 | 16.44 | -70.50 | -13.96 | 1.32 | -16.83 | -28.60 |
| 28 | 3.58 | -9.52 | 16.20 | -71.20 | -13.69 | 1.34 | -17.23 | -28.70 |
| 29 | 3.58 | -9.40 | 16.17 | -70.00 | -13.77 | 1.32 | -17.23 | -28.60 |
| 30 | 3.49 | -8.95 | 15.84 | -70.23 | -13.67 | 1.31 | -17.29 | -28.70 |
| Parameter | Average (30pcs.) | Standard Deviation |
| S11 (dB) | -9.08 | 0.31 |
| S21 (dB) | 16.10 | 0.30 |
| S12 (dB) | -67.52 | 3.60 |
| S22 (dB) | 13.72 | 0.25 |
| Noise Figure (dB) | 1.31 | 0.02 |
| Input IP3 (dBm) | -17.24 | 0.23 |
| Input P1dB (dBm) | -28.68 | 0.11 |