ChipDNA内蔵セキュリティPUF技術

存在しない鍵を盗むことはできません

高度な侵入型の攻撃は、多くの場合、セキュアICから暗号鍵を盗み出そうとして行われます。鍵が盗み出されてしまえば、そのICが提供するセキュリティは役に立たなくなります。物理複製困難関数(PUF)から生成される鍵はメモリ内に存在せず、その他の静的状態でも存在しないので、侵入型攻撃に対して前例のないレベルの保護を提供します。

ChipDNA PUFセキュリティの概要

PUFベースのChipDNAセキュア・オーセンティケータでは、個々の鍵がICの詳細なアナログ特性として存在しているので、既知のあらゆる侵入型攻撃ツールや機能に対して高い耐性を備えています。ChipDNAで生成される各IC固有の鍵は、物理複製困難関数に基づくものなので、温度、電圧、およびIC動作時間などの条件に関わらず再現性があります。

ChipDNA PUFセキュリティ技術は、ハッカーが使用する侵入型およびリバース・エンジニアリング型攻撃に対する保護を飛躍的に強化します。ChipDNA動作のプロービングや観測をしようとすると基本的な回路特性が変わってしまうので、チップの暗号関数に使われている固有値が突き止められるのを防止できます。同様に、ChipDNA回路を動作可能にするには工場出荷時の調整が必要なので、より徹底したリバースエンジニアリングを行おうとしても、その目的を果たすことはできません。デバイスごとに固有の鍵が暗号処理に必要なときだけChipDNA回路によって生成され、使用後は即座に削除されます。

最も重要なのは、ChipDNAのセキュア鍵がレジスタやメモリ内に置かれることはなく、ICの電気的境界から離れることもないという点です。このような保護上の利点に加えて、ChipDNAはセキュアICの鍵管理を簡素化し、場合によってはまったく不要にします。ChipDNAで生成される鍵は、以下のような機能に直接使用できます。

  • 派生鍵処理のためのルート鍵。
  • セキュアICの不揮発性メモリに保存されたデータの暗号化/復号のための対称秘密鍵。
  • ECDSA署名生成用のプライベート鍵。
  • ECDH鍵確立用のプライベート鍵。
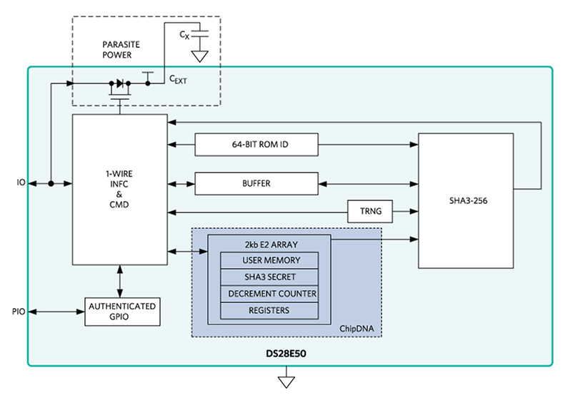
ChipDNA Block Diagram
ChipDNA PUF保護を使用するDeepCover®セキュア・オーセンティケータのブロック図

 

ChipDNA PUF技術はどのようにして最高レベルのIoTセキュリティを実現するのか

最大限のセキュリティ:すべてロック、鍵はない

ChipDNAは、ICの詳細なアナログ特性から暗号鍵を生成することにより、サイバー攻撃に対して前例のない保護を提供します。この鍵は物理複製困難関数に基づくもので、メモリ内には保存されず、セキュリティ侵害のおそれがあるその他の静的状態でも保存されません。

動作原理を表示

ChipDNA Puf Technology

ChipDNA PUFセキュリティの使用例

ChipDNA内蔵セキュリティPUF技術の使用例には、内部メモリの暗号化、外部メモリの暗号化、認証鍵の生成などがあります。

Internal Memory Encryption

内部メモリの暗号化

External Memory Encryption

外部メモリの暗号化

Authentication Key Generation

認証鍵の生成